Запчасти Komatsu PC220LC-5 КОВШ .M¤ MM (ВЕРТИКАЛЬН. ПАЛЕЦ) РАБОЧЕЕ ОБОРУДОВАНИЕ

Схема запчастей Komatsu PC220LC-5 - КОВШ .M¤ MM (ВЕРТИКАЛЬН. ПАЛЕЦ) РАБОЧЕЕ ОБОРУДОВАНИЕ
FIT
1:1
100%

Артикул

Название

Примечание

Количество

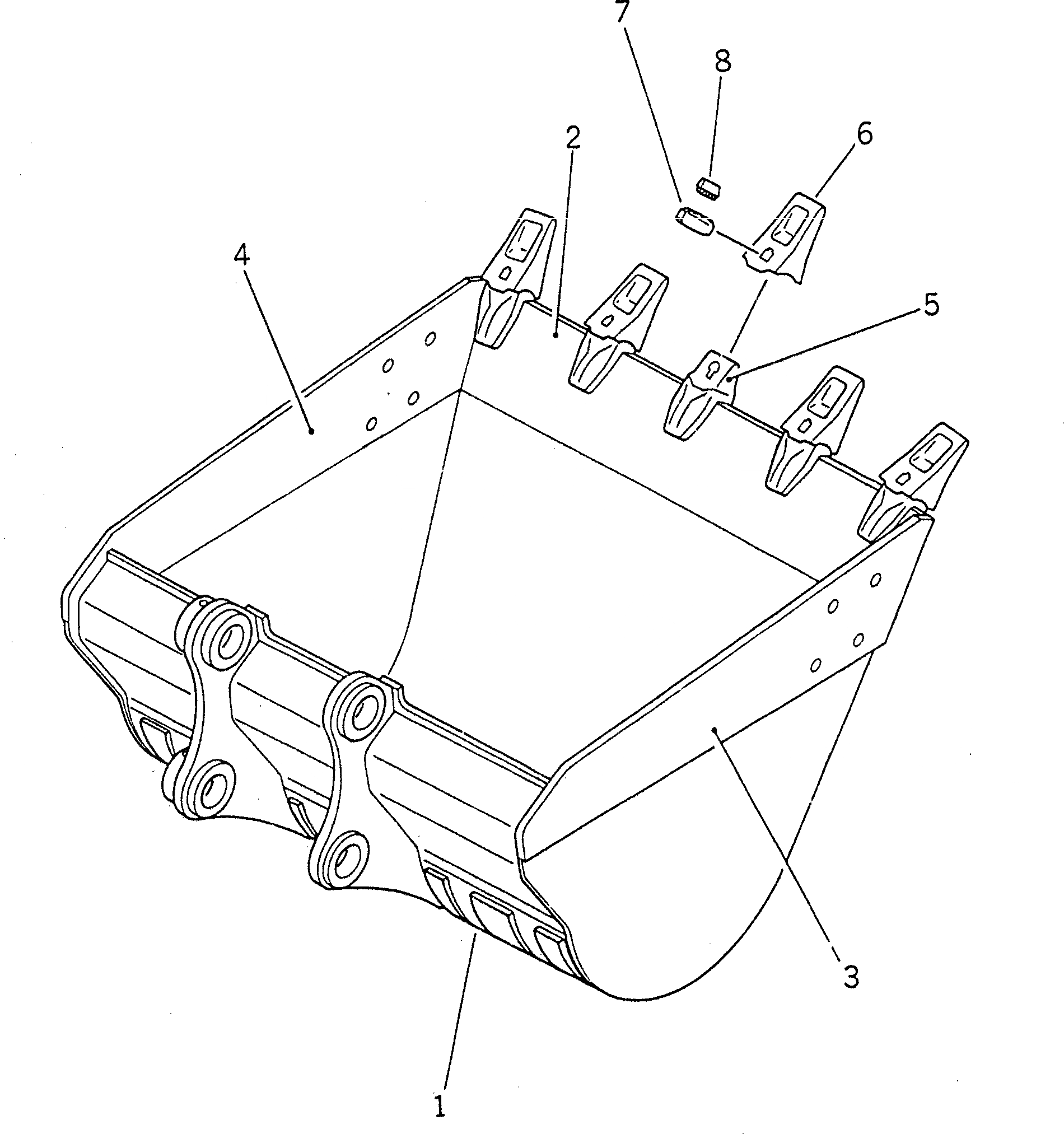
G-1

206-920-X211

BUCKET GROUP

1

206-920-6210

BUCKET

2

206-920-6220

PLATE (WELDED)

3

206-70-58120

PLATE,L.H. (WELDED)

4

206-70-58130

PLATE,R.H. (WELDED)

5

206-70-58150

ADAPTER (WELDED)

6

206-70-54221

TOOTH

7

207-70-34221

PIN

8

205-70-74291

LOCK

Выбрано товаров: 9