Запчасти Komatsu PC220LC-5 ГИДРАВЛ УПРАВЛЯЮЩ. КЛАПАН COMPLETE ASSEMBLY УПРАВЛ-Е РАБОЧИМ ОБОРУДОВАНИЕМ

Схема запчастей Komatsu PC220LC-5 - ГИДРАВЛ УПРАВЛЯЮЩ. КЛАПАН COMPLETE ASSEMBLY УПРАВЛ-Е РАБОЧИМ ОБОРУДОВАНИЕМ
11
14
12
13
10
12
12
13
12
13
13
12
13
13
12
13
1
9
15
5
7
4
6
5
5
4
4
5
3
3
12
13
5
8
2
13
12
FIT
1:1
100%

Артикул

Название

Примечание

Количество

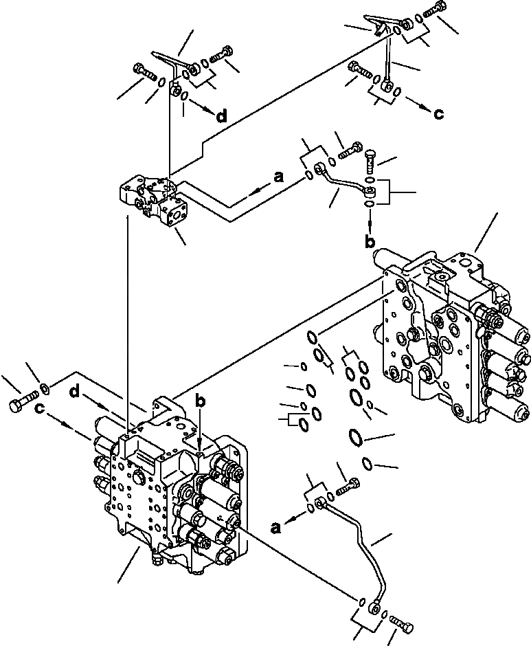
1

709-79-22301

VALVE ASSEMBLY, HYDRAULIC CONTROL

|$1

709-79-22303

VALVE ASSEMBLY, HYDRAULIC CONTROL

3

07000-13038

O-RING

4

07000-02010

O-RING

5

07000-13028

O-RING

6

01010-51040

BOLT

7

01643-31032

WASHER

8

709-79-11132

TUBE

9

709-79-11112

TUBE

10

709-79-11143

TUBE

11

709-79-11122

TUBE

12

709-79-11190

BOLT

13

07000-02011

O-RING

14

08036-31214

CLIP

Выбрано товаров: 14