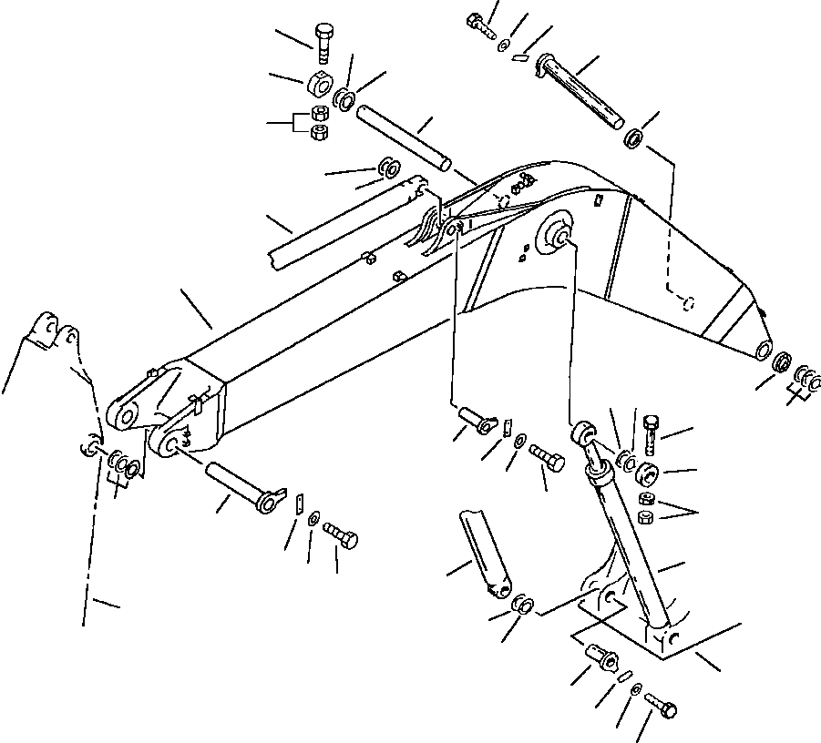
Запчасти Komatsu PC220LC-5 СТРЕЛА КРЕПЛЕНИЕ РАБОЧЕЕ ОБОРУДОВАНИЕ (ЭКСКАВАТ.)

Схема запчастей Komatsu PC220LC-5 - СТРЕЛА КРЕПЛЕНИЕ РАБОЧЕЕ ОБОРУДОВАНИЕ (ЭКСКАВАТ.)
3
4
2
10
7
1
8
9
5
6
11
18
19
28
29
7
5
8
13
10
17
9
20
26
21
11
13
12
31
14
16
31
15
30
22
23
32
24
25
26
27
FIT
1:1
100%

Артикул

Название

Примечание

Количество

1

206-70-55270

PIN

2

20Y-70-11190

PLATE

3

01010-51640

BOLT

4

01643-31645

WASHER

5

07145-00100

SEAL, DUST

6

206-70-51190

PIN

7

20Y-70-11390

SPACER, BOOM/ARM PIVOT AND BOOM FOOT 0.8 mm

8

20Y-70-11370

SPACER, BOOM/ARM PIVOT AND BOOM FOOT 1.5 mm

9

20Y-70-11170

PLATE

10

20Y-70-11380

BOLT

11

01580-12016

NUT

12

205-70-65680

PIN

13

206-70-55250

SPACER, BOOM/ARM PIVOT AND BOOM FOOT 0.8 mm

|$13

206-70-55320

SPACER, BOOM/ARM PIVOT AND BOOM FOOT 1.0 mm

|$14

206-70-55260

SPACER, BOOM/ARM PIVOT AND BOOM FOOT 1.5 mm

14

205-70-71310

PLATE

15

01010-51235

BOLT

16

01643-31232

WASHER

17

206-70-51170

PIN

18

20Y-70-11340

SPACER, ARM CYLINDER 0.8 mm

19

205-70-51530

SPACER, ARM CYLINDER 1.5 mm

20

205-70-66580

PLATE

21

01010-51235

BOLT

22

20Y-70-11350

SPACER, BOOM CYLINDER/ARM CYLINDER 0.8 mm

23

206-70-55290

SPACER, BOOM CYLINDER/ARM CYLINDER 1.5 mm

24

205-70-65750

PIN

25

205-70-66580

PLATE

26

01643-31232

WASHER

27

01010-51235

BOLT

Выбрано товаров: 29