Качественные детали и логистика
Оригинальные и аналоговые запчасти с доставкой по России, Казахстану и Беларуси
©2022 PartSell ООО "Система" ИНН 2463123282 ОГРН 1212400004838
Центральный офис: г. Красноярск, Академика Киренского, д.87, пом.4
Телефон: 8 (800) 777-65-74 Email: zakaz@partsell.ru
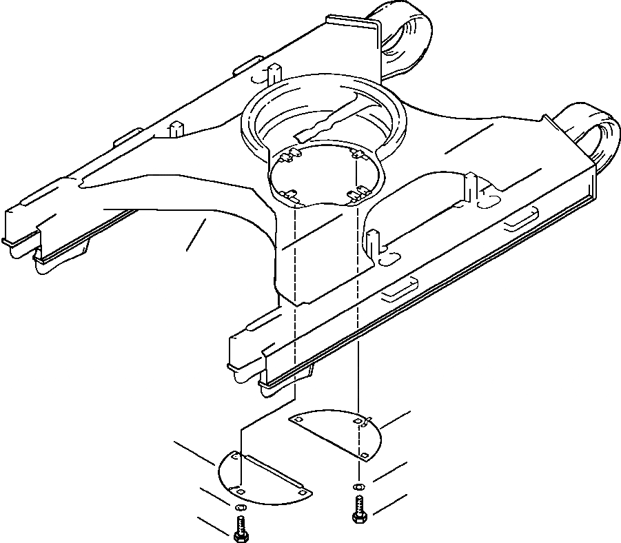
ГУСЕНИЧНАЯ РАМА ЦЕНТР. НИЖН.-COVER
№
Артикул
Название
Примечание
Количество
1
20Y-973-2220
COVER, REAR UNDER
2
20Y-973-2230
COVER, FRONT UNDER
3
01010-51235
BOLT
4
01643-31232
WASHER
Выбрано товаров: 0