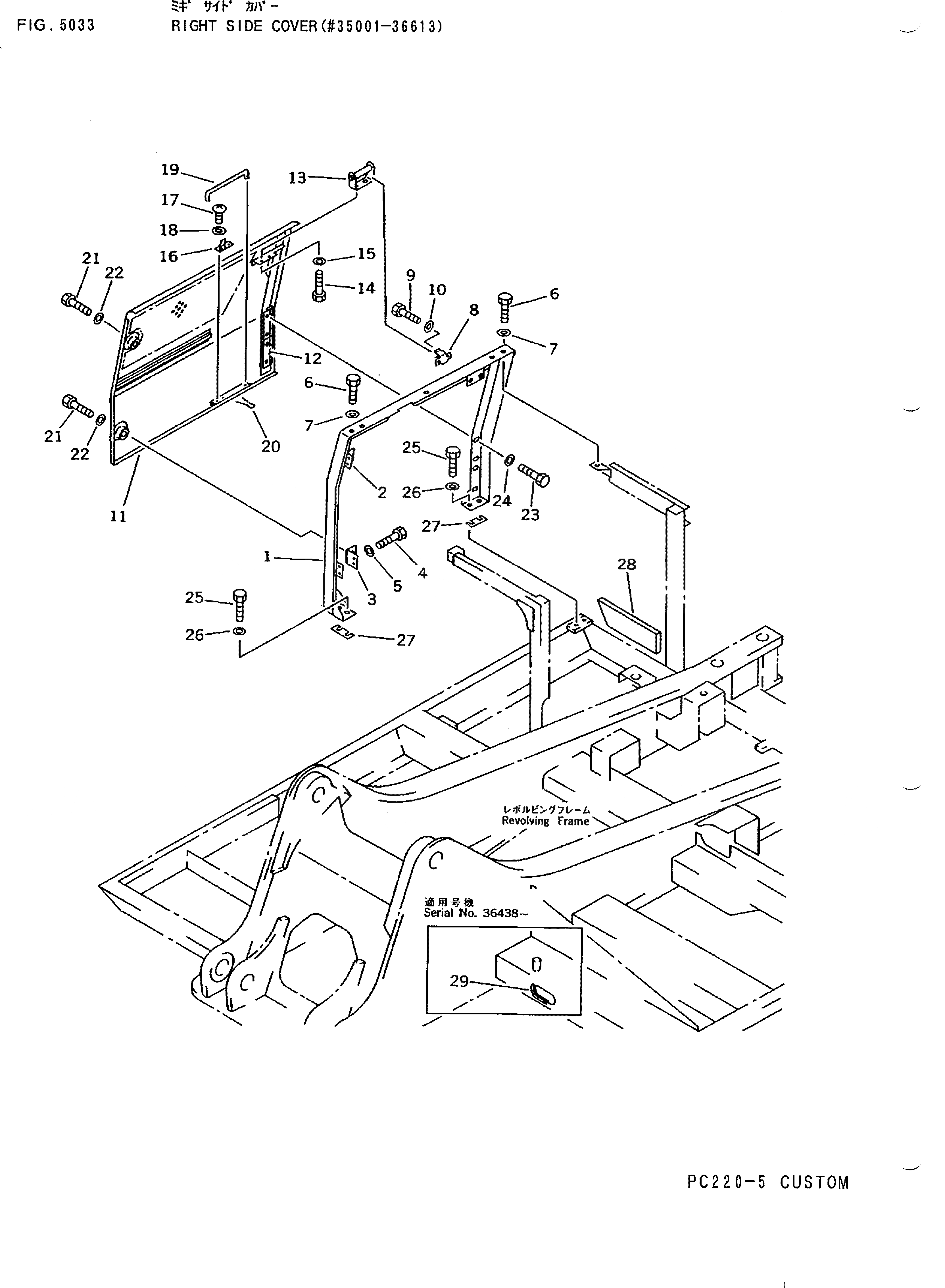
Запчасти Komatsu PC220LC-5C ПРАВ. COVER(№-) ЧАСТИ КОРПУСА

Схема запчастей Komatsu PC220LC-5C - ПРАВ. COVER(№-) ЧАСТИ КОРПУСА
FIT
1:1
100%

Артикул

Название

Примечание

Количество

1

20Y-54-12222

FRAME

2

20Y-54-12960

BRACKET

3

20Y-54-12930

BRACKET

4

01010-51230

BOLT

5

01643-31232

WASHER

6

01010-51230

BOLT

7

01643-31232

WASHER

8

20Y-54-12920

CLAMP

9

01010-51020

BOLT

10

01643-31032

WASHER

11

20Y-54-17531

DOOR

12

20Y-54-12750

HINGE (WELDED)

13

207-54-31870

BRACKET

14

01010-51020

BOLT

15

01643-31032

WASHER

16

20B-54-12210

SPRING

17

01220-40408

SCREW

18

01641-20405

WASHER

19

205-54-64140

BAR

20

04050-13018

PIN,COTTER

21

01010-51225

BOLT

22

01643-31232

WASHER

23

01010-51225

BOLT

24

20Y-54-12670

WASHER

25

01010-51230

BOLT

26

01643-31232

WASHER

27

20Y-54-12690

PLATE, 1.0MM

27

20Y-54-12680

PLATE, 3.2MM

28

20Y-54-16470

SHEET

29

20Y-46-11540

GROMMET

Выбрано товаров: 30