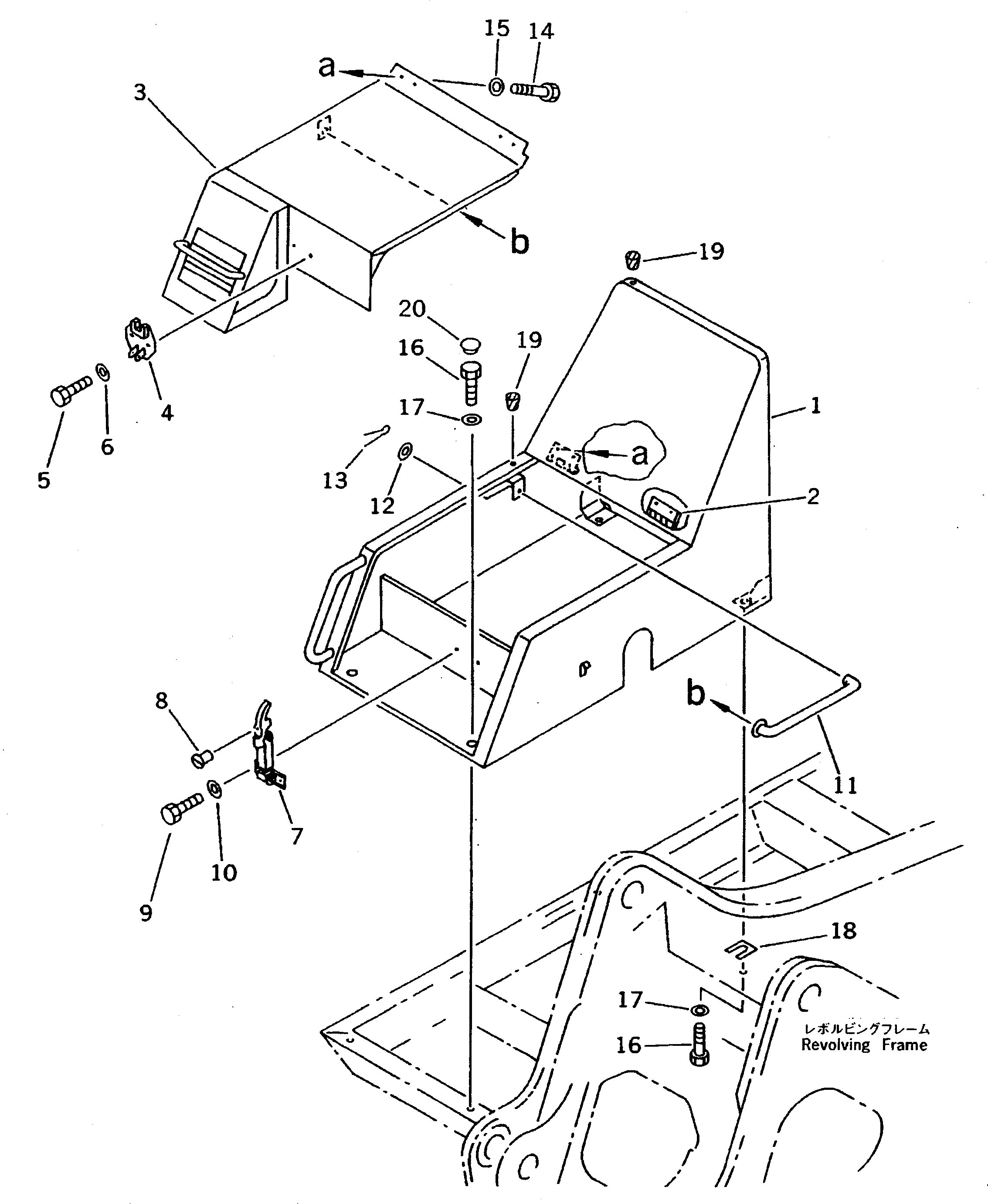
Запчасти Komatsu PC220LC-5C АККУМУЛЯТОРН. ОТСЕК ЧАСТИ КОРПУСА

Схема запчастей Komatsu PC220LC-5C - АККУМУЛЯТОРН. ОТСЕК ЧАСТИ КОРПУСА
FIT
1:1
100%

Артикул

Название

Примечание

Количество

1

20Y-54-14731

COVER

1

20Y-54-12614

COVER

2

20Y-54-12650

HINGE (WELDED)

3

20Y-54-12624

COVER

4

205-54-67660

SUPPORT

5

01010-50820

BOLT

6

01643-30823

WASHER

7

205-54-76260

CATCHER

8

205-54-76280

ROTOR ASS'Y

9

01010-50820

BOLT

10

01643-30823

WASHER

11

20Y-54-12630

BAR

12

01643-31032

WASHER

13

04050-13018

PIN,COTTER

14

01010-51030

BOLT

15

01643-31032

WASHER

16

01010-51230

BOLT

17

175-54-34170

WASHER

18

20Y-54-18190

PLATE

19

07049-01215

PLUG

20

198-54-41941

CAP

Выбрано товаров: 0