Запчасти Komatsu PC220LC-5C ГИДРАВЛ УПРАВЛЯЮЩ. КЛАПАН (/7) УПРАВЛ-Е РАБОЧИМ ОБОРУДОВАНИЕМ

Схема запчастей Komatsu PC220LC-5C - ГИДРАВЛ УПРАВЛЯЮЩ. КЛАПАН (/7) УПРАВЛ-Е РАБОЧИМ ОБОРУДОВАНИЕМ
FIT
1:1
100%

Артикул

Название

Примечание

Количество

|$0

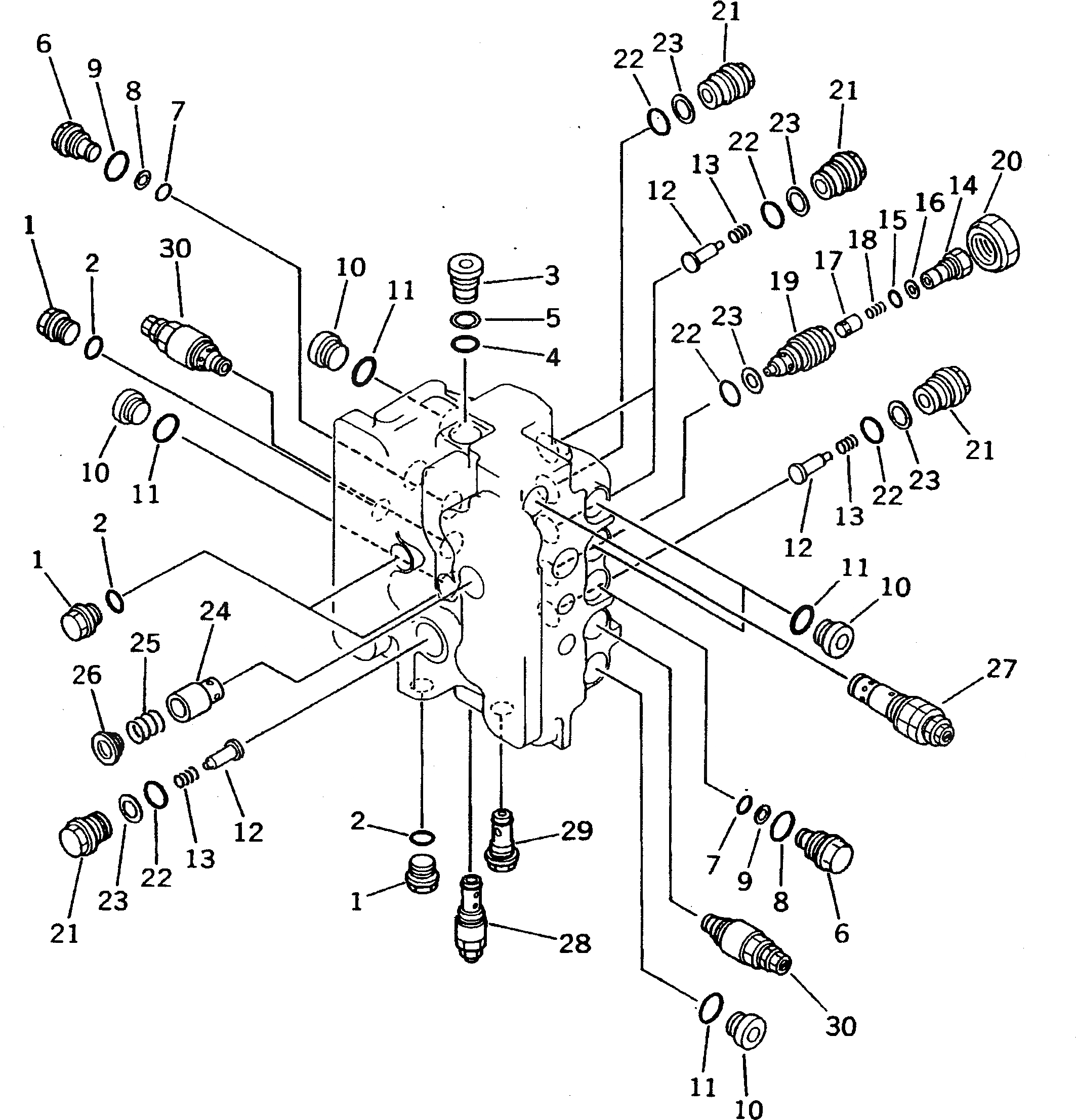
709-79-22502

CONTROL VALVE ASS'Y

|$1

709-79-22501

CONTROL VALVE ASS'Y

|$2

709-79-22500

CONTROL VALVE ASS'Y

|$3

709-79-22400

CONTROL VALVE ASS'Y

|$5

709-75-92900

VALVE ASS'Y

|$6

709-75-92503

VALVE ASS'Y

1

709-74-91860

PLUG

2

07002-12434

O-RING

3

709-74-91850

PLUG

4

07000-12018

O-RING

5

07001-02018

RING,BACK-UP

6

709-74-91510

PLUG

6

700-84-13960

PLUG

7

07000-11009

O-RING

7

700-22-11410

O-RING

8

07001-01009

RING,BACK-UP

8

700-80-64220

RING,BACK-UP

9

709-25-11390

O-RING

9

07002-03034

O-RING

10

709-74-91520

PLUG

10

07040-13016

PLUG

11

709-25-11390

O-RING

11

07002-03034

O-RING

12

709-74-92810

VALVE

13

709-75-92220

SPRING

14

709-74-91820

PLUG

15

07000-12010

O-RING

16

07001-02010

RING,BACK-UP

17

706-73-70140

VALVE,CHECK

18

706-73-70150

SPRING

19

709-74-91810

PLUG

20

709-74-91830

NUT

21

709-74-92821

PLUG

22

700-93-11320

O-RING

23

700-93-11330

RING,BACK-UP

24

709-74-92281

VALVE

25

709-74-92290

SPRING

26

709-74-92310

SEAT

27

709-80-52800

VALVE ASS'Y,RELIEF

28

709-70-55200

VALVE ASS'Y,RELIEF

29

709-90-91300

ORIFICE ASS'Y

30

709-70-74103

VALVE ASS'Y,SUCTION AND SAFETY

30

709-70-71102

VALVE ASS'Y,SUCTION AND SAFETY

Выбрано товаров: 43