Запчасти Komatsu PC220LC-5C ГЛАВН. ТРУБЫ (РАСПРЕДЕЛИТ. КЛАПАН TO/FROM УПРАВЛЯЮЩ. КЛАПАН) (ДЛЯ НАСОС) (С ДОПОЛН. ГИДРОЛИНИЕЙ)(№-) УПРАВЛ-Е РАБОЧИМ ОБОРУДОВАНИЕМ

Схема запчастей Komatsu PC220LC-5C - ГЛАВН. ТРУБЫ (РАСПРЕДЕЛИТ. КЛАПАН TO/FROM УПРАВЛЯЮЩ. КЛАПАН) (ДЛЯ НАСОС) (С ДОПОЛН. ГИДРОЛИНИЕЙ)(№-) УПРАВЛ-Е РАБОЧИМ ОБОРУДОВАНИЕМ
FIT
1:1
100%

Артикул

Название

Примечание

Количество

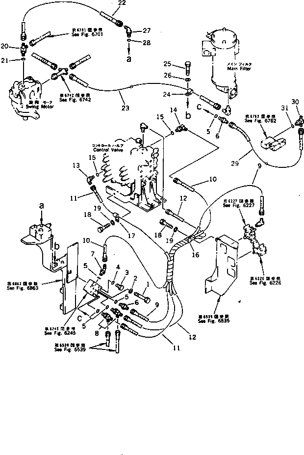
G-1

207-970-X101

PIPING GROUP

1

01010-51070

BOLT

2

01643-31032

WASHER

3

07040-11409

PLUG

4

07002-01423

O-RING

5

07002-01423

O-RING

6

205-62-55270

NIPPLE

7

22X-61-18550

ELBOW

8

21T-62-29960

TEE

9

20Y-62-17220

HOSE,(RED)

10

20Y-62-17260

HOSE,(BLUE)

11

20Y-62-17220

HOSE,(YELLOW)

12

20Y-62-17170

HOSE

13

22X-61-18550

ELBOW

14

207-62-33920

ELBOW

15

07002-01423

O-RING

16

113-899-7950

CLIP

17

08036-21414

CLIP

18

01010-51225

BOLT

19

01643-31232

WASHER

20

21T-62-74610

ELBOW

21

07002-02434

O-RING

22

20Y-970-2210

HOSE

23

20Y-970-2230

HOSE

24

08035-03014

CLIP

25

01010-51225

BOLT

26

01643-31232

WASHER

27

07235-10628

ELBOW

28

07002-02434

O-RING

29

20Y-62-17620

HOSE

30

20Y-62-11780

TEE

31

07002-01423

O-RING

Выбрано товаров: 0