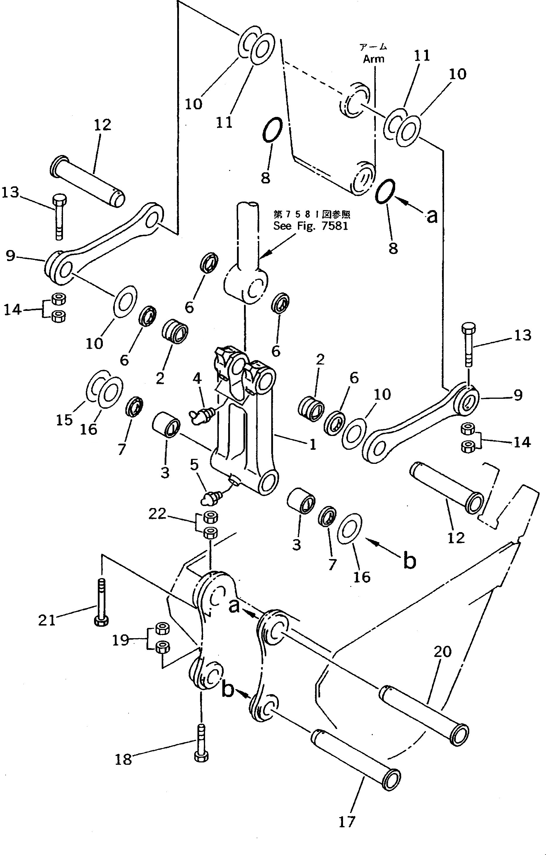
Запчасти Komatsu PC220LC-5C СОЕДИНИТЕЛЬН. ЗВЕНО РАБОЧЕЕ ОБОРУДОВАНИЕ (ЭКСКАВАТ.)

Схема запчастей Komatsu PC220LC-5C - СОЕДИНИТЕЛЬН. ЗВЕНО РАБОЧЕЕ ОБОРУДОВАНИЕ (ЭКСКАВАТ.)
FIT
1:1
100%

Артикул

Название

Примечание

Количество

G-1

206-70-X3001

LINK GROUP

|$2

206-70-00261

LINK ASS'Y

|$3

206-70-00130

LINK ASS'Y

1

LINK

1

LINK

2

206-70-53150

BUSHING

3

205-70-67150

BUSHING

4

07020-00675

FITTING,GREASE

5

07020-00000

FITTING,GREASE

6

205-70-62140

SEAL,DUST

7

205-70-62140

SEAL,DUST

8

205-70-73280

O-RING

9

206-70-57120

LINK

10

20Y-70-11340

SPACER, 0.8MM

10

20Y-70-11340

SPACER, 0.8MM

11

205-70-51530

SPACER, 1.5MM

11

205-70-51530

SPACER, 1.5MM

12

206-70-53140

PIN

13

205-70-73190

BOLT

14

01580-12016

NUT

15

20Y-70-11340

SPACER, 0.8MM

16

205-70-51530

SPACER, 1.5MM

17

205-70-73270

PIN

18

205-70-73190

BOLT

19

01580-12016

NUT

20

205-70-73270

PIN

21

362-46-11210

BOLT

22

01580-12016

NUT

Выбрано товаров: 28