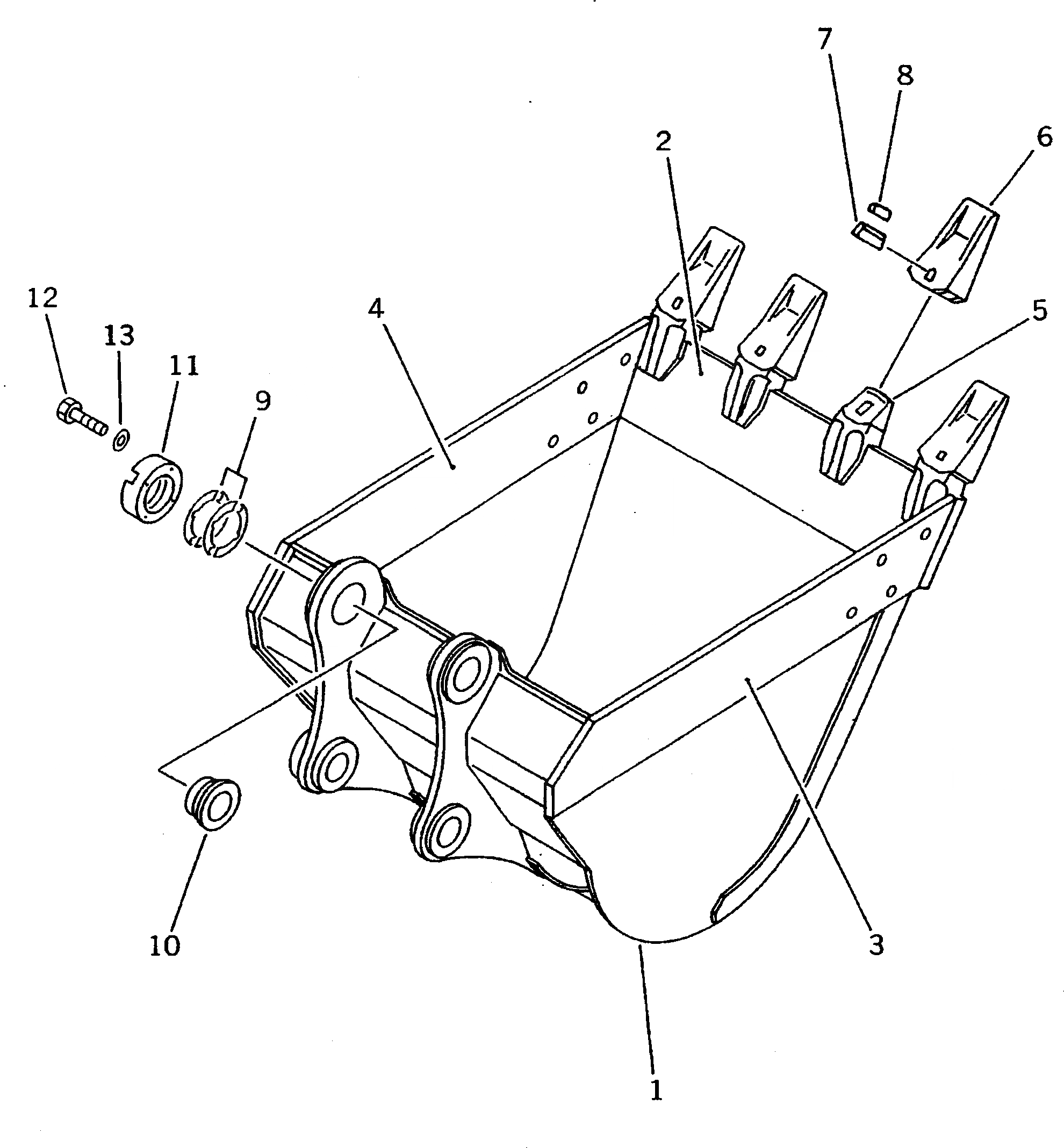
Запчасти Komatsu PC220LC-5C КОВШ .9M¤ MM (ВЕРТИКАЛЬН. ПАЛЕЦ) (С РЕГУЛИРОВКОЙ ПЛАСТИНА) РАБОЧЕЕ ОБОРУДОВАНИЕ (ЭКСКАВАТ.)

Схема запчастей Komatsu PC220LC-5C - КОВШ .9M¤ MM (ВЕРТИКАЛЬН. ПАЛЕЦ) (С РЕГУЛИРОВКОЙ ПЛАСТИНА) РАБОЧЕЕ ОБОРУДОВАНИЕ (ЭКСКАВАТ.)
FIT
1:1
100%

Артикул

Название

Примечание

Количество

G-1

206-70-X4101

BUCKET GROUP

1

206-70-58110

BUCKET

2

206-70-58142

PLATE (WELDED)

2

206-70-58141

PLATE (WELDED)

3

206-70-58120

PLATE,L.H. (WELDED)

4

206-70-58130

PLATE,R.H. (WELDED)

5

206-70-58150

ADAPTER (WELDED)

6

206-70-54221

TOOTH

7

207-70-34221

PIN

8

205-70-74291

LOCK

9

205-70-00100

SHIM ASS'Y

9

SHIM, 0.5MM

9

SHIM, 1.0MM

10

205-70-74381

SPACER

11

205-70-74391

PLATE

12

01010-32055

BOLT

13

01643-32060

WASHER

Выбрано товаров: 17