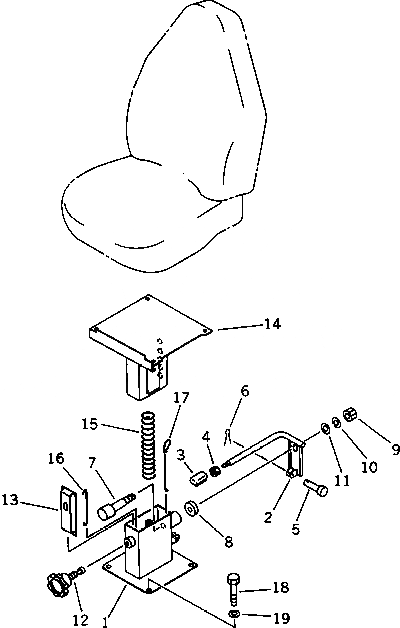
Запчасти Komatsu PC220LC-5C ОСНОВАНИЕ КРЕСЛА ЧАСТИ КОРПУСА

Схема запчастей Komatsu PC220LC-5C - ОСНОВАНИЕ КРЕСЛА ЧАСТИ КОРПУСА
FIT
1:1
100%

Артикул

Название

Примечание

Количество

G-1

203-57-X1101

OPERATOR'S SEAT G.

|1

203-57-00070

STAND ASS'Y

1

203-57-51243

STAND

2

203-57-51460

LEVER

3

203-57-51920

KNOB

4

01580-10806

NUT

5

04205-11042

PIN

6

04050-13015

PIN,COTTER

7

203-57-51452

PIN

8

203-57-51420

SEAT

9

01580-11210

NUT

10

01602-21236

WASHER,SPRING

11

01640-21426

WASHER

12

203-57-51261

KNOB

13

203-57-51662

PLATE

14

203-57-51253

BRACKET

15

203-57-51442

SPRING

16

203-57-51851

PIN

17

203-57-51431

PIN

18

01010-51230

BOLT

19

01643-31232

WASHER

Выбрано товаров: 21