Запчасти Komatsu PC220LC-5C MAGAZINE КОРПУС (ДЛЯ УДЛИНН. РЫЧАГ УПРАВЛ-Е)(№-) СИСТЕМА УПРАВЛЕНИЯ И ОСНОВНАЯ РАМА

Схема запчастей Komatsu PC220LC-5C - MAGAZINE КОРПУС (ДЛЯ УДЛИНН. РЫЧАГ УПРАВЛ-Е)(№-) СИСТЕМА УПРАВЛЕНИЯ И ОСНОВНАЯ РАМА
FIT
1:1
100%

Артикул

Название

Примечание

Количество

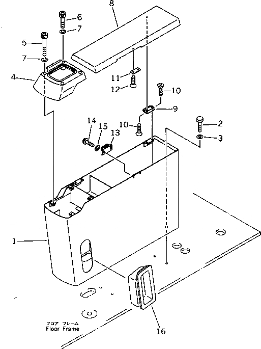
1

20Y-43-15183

COVER

2

01010-51025

BOLT

3

01643-31032

WASHER

4

203-54-51341

COVER

5

203-54-56260

BOLT

6

203-54-56250

BOLT

7

01601-20513

WASHER,SPRING

8

203-54-51350

COVER

9

203-54-51380

HINGE

10

01224-40306

SCREW

11

203-54-51550

PLATE

12

01220-40306

SCREW

13

203-54-56830

CATCHER

14

01220-40308

SCREW

15

01641-20305

WASHER

16

205-43-72480

COVER

Выбрано товаров: 16