Запчасти Komatsu PC220LC-5C ПАНЕЛЬ СТОЙКА (ДЛЯ УДЛИНН. РЫЧАГ УПРАВЛ-Е)(№-) СИСТЕМА УПРАВЛЕНИЯ И ОСНОВНАЯ РАМА

Схема запчастей Komatsu PC220LC-5C - ПАНЕЛЬ СТОЙКА (ДЛЯ УДЛИНН. РЫЧАГ УПРАВЛ-Е)(№-) СИСТЕМА УПРАВЛЕНИЯ И ОСНОВНАЯ РАМА
FIT
1:1
100%

Артикул

Название

Примечание

Количество

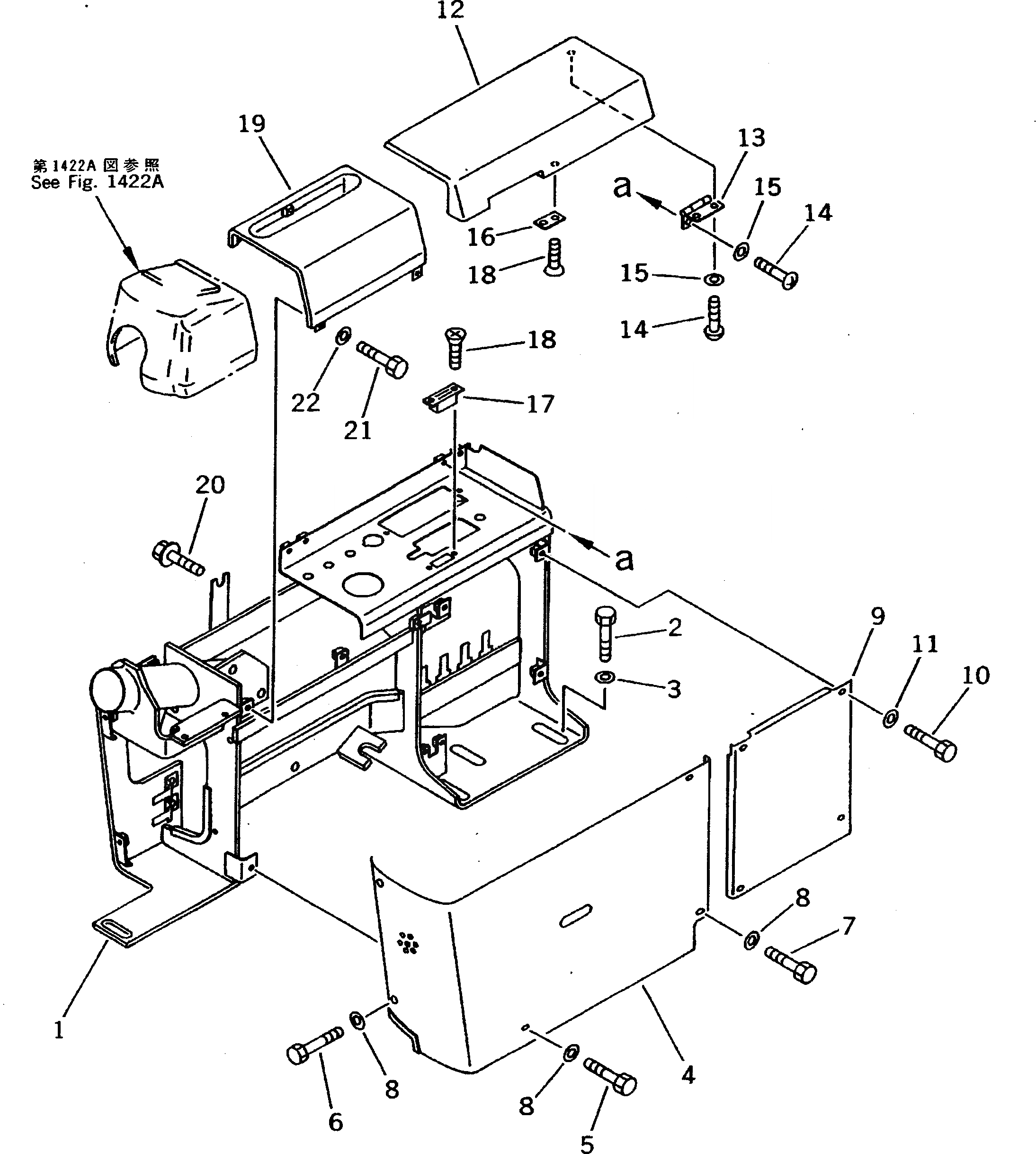
1

20Y-43-17211

BRACKET

2

01010-51225

BOLT

3

20Y-54-12670

WASHER

4

20Y-43-15292

COVER

5

01010-50616

BOLT

6

20Y-43-15460

BOLT

7

01010-50620

BOLT

8

01643-30623

WASHER

9

20Y-43-17130

COVER

10

01010-50620

BOLT

11

01643-30623

WASHER

12

203-54-56531

COVER

13

20Y-06-16350

HINGE

14

01220-70510

SCREW

15

01642-40508

WASHER

16

203-54-51550

PLATE

17

203-54-51540

MAGNET

18

01224-40306

SCREW

19

20Y-43-17122

COVER

20

01435-00620

BOLT

21

01010-50620

BOLT

22

01643-30623

WASHER

Выбрано товаров: 22