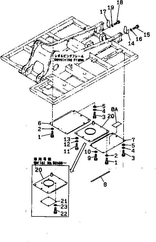
Запчасти Komatsu PC220LC-6 НИЖН. КРЫШКА (ОСНОВНАЯ РАМА) (ОТСЕК ДВИГАТЕЛЯ)(№7-8) ЧАСТИ КОРПУСА

Схема запчастей Komatsu PC220LC-6 - НИЖН. КРЫШКА (ОСНОВНАЯ РАМА) (ОТСЕК ДВИГАТЕЛЯ)(№7-8) ЧАСТИ КОРПУСА
FIT
1:1
100%

Артикул

Название

Примечание

Количество

1

01010-51230

BOLT

2

01643-31232

WASHER

3

01010-51230

BOLT

4

01643-31232

WASHER

5

20Y-54-12550

COLLAR

6

20Y-54-26280

COVER

7

20Y-54-26260

COVER

8

20Y-54-26190

SHEET

8A

20Y-54-28490

PLATE

9

01010-51230

BOLT

10

01643-31232

WASHER

11

01010-51230

BOLT

12

01643-31232

WASHER

13

20Y-54-12550

COLLAR

14

20Y-54-28872

COVER

15

01010-51230

BOLT

16

01643-31232

WASHER

17

20Y-54-28882

COVER

18

01010-51230

BOLT

19

01643-31232

WASHER

20

20Y-54-26270

COVER

21

20Y-54-28590

COVER

22

01010-51230

BOLT

23

01643-31232

WASHER

Выбрано товаров: 24