Качественные детали и логистика
Оригинальные и аналоговые запчасти с доставкой по России, Казахстану и Беларуси
©2022 PartSell ООО "Система" ИНН 2463123282 ОГРН 1212400004838
Центральный офис: г. Красноярск, Академика Киренского, д.87, пом.4
Телефон: 8 (800) 777-65-74 Email: zakaz@partsell.ru
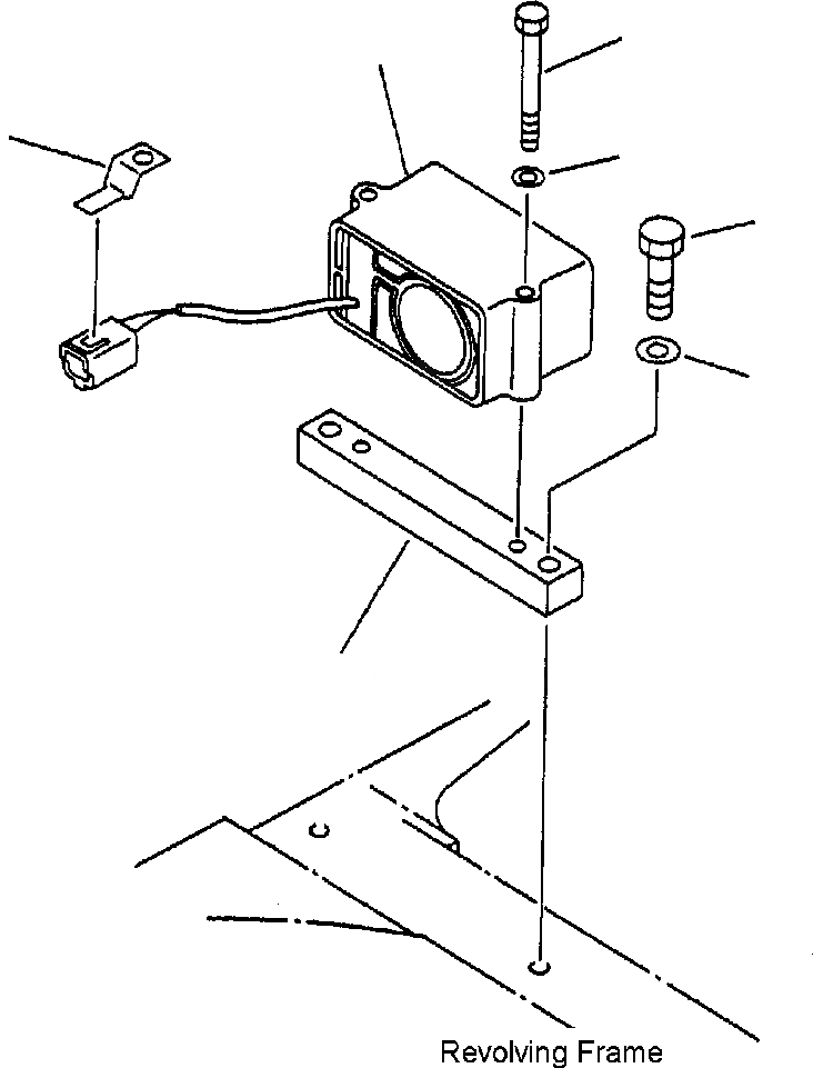
FIG NO. E- СИГНАЛ ХОДА
№
Артикул
Название
Примечание
Количество
1
20Y-06-A1010
ALARM, TRAVEL
2
08053-01512
CLIP
3
01011-51000
BOLT
4
01643-31032
WASHER
5
20Y-06-21770
PLATE
6
01010-51245
7
01643-31232
Выбрано товаров: 0