Запчасти Komatsu PC220LC-6L FIG NO. H7- ГИДРОЛИНИЯ НАВЕСНОЕ ОБОРУД-Е (ПРАВ. CROSS КЛАПАН) ГИДРАВЛИКА

Схема запчастей Komatsu PC220LC-6L - FIG NO. H7- ГИДРОЛИНИЯ НАВЕСНОЕ ОБОРУД-Е (ПРАВ. CROSS КЛАПАН) ГИДРАВЛИКА
8
9
11
7
12
1
2
4
5
3
6
10
FIT
1:1
100%

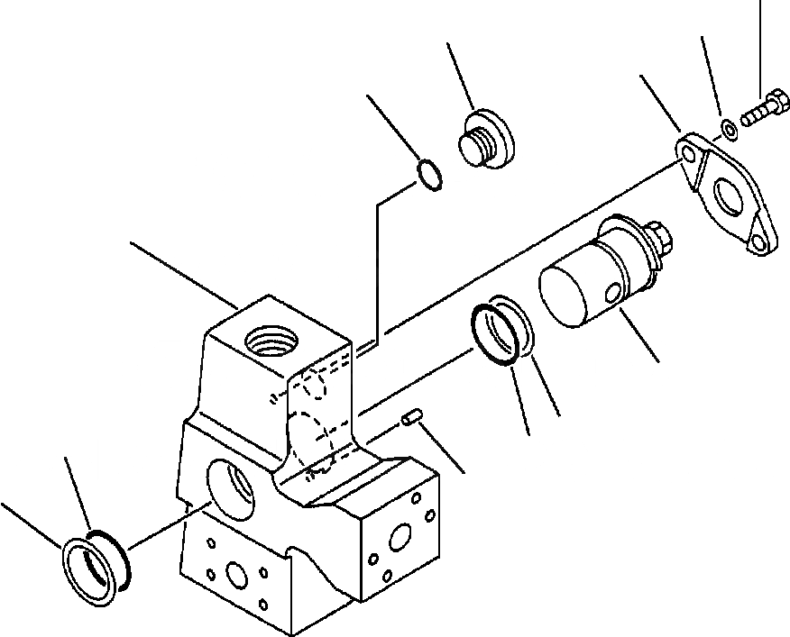
Артикул

Название

Примечание

Количество

|$0

20Y-62-25201

VALVE ASSEMBLY

1

20Y-62-25161

BLOCK

2

20Y-970-3410

ROTOR

3

07000-13042

O-RING

4

07001-03042

RING

5

07000-13048

O-RING

6

07001-03048

RING

7

20Y-970-3350

FLANGE

8

01010-51025

BOLT

9

01643-31032

WASHER

10

04025-00412

PIN

11

07040-12414

PLUG

12

07002-12434

O-RING

Выбрано товаров: 13