Качественные детали и логистика
Оригинальные и аналоговые запчасти с доставкой по России, Казахстану и Беларуси
©2022 PartSell ООО "Система" ИНН 2463123282 ОГРН 1212400004838
Центральный офис: г. Красноярск, Академика Киренского, д.87, пом.4
Телефон: 8 (800) 777-65-74 Email: zakaz@partsell.ru
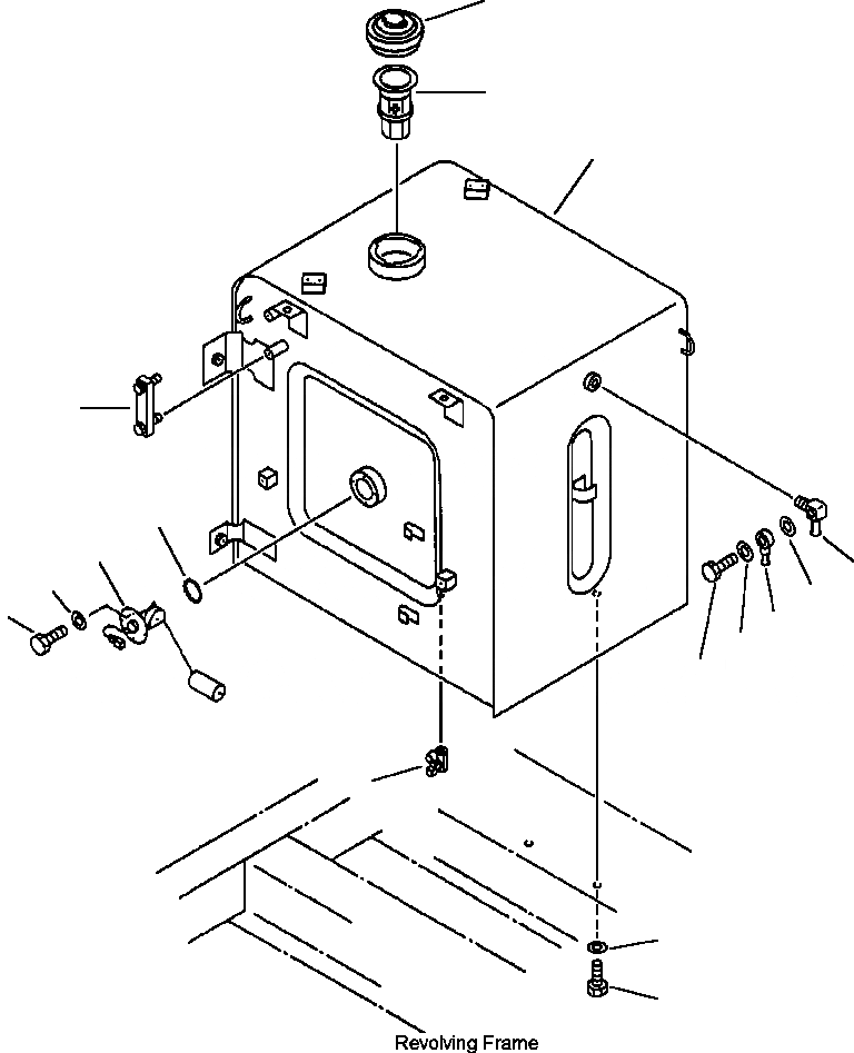
FIG NO. D- ТОПЛИВН. БАК.
№
Артикул
Название
Примечание
Количество
|$0
20Y-04-00061
FUEL TANK ASSEMBLY
1
NSS
TANK, FUEL
2
21S-04-11151
GAUGE, SIGHT - FUEL LEVEL
3
07700-50240
VALVE, FUEL TANK DRAIN
4
20Y-04-11160
CAP, FUEL TANK FILL
|$5
20Y-04-11240
PACKING
5
7861-92-5810
SENSOR, FUEL LEVEL
6
07000-03050
O-RING
7
01010-50612
BOLT
8
01643-30623
WASHER
9
205-04-71140
STRAINER, FUEL
10
20Y-04-21131
ELBOW
11
20Y-04-21141
TUBE
12
07005-00812
GASKET
13
07206-30508
14
01010-51635
15
01643-31645
Выбрано товаров: 0