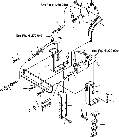
Запчасти Komatsu PC220LC-6LC FIG NO. H7- ГИДРОЛИНИЯ НАВЕСНОЕ ОБОРУД-Е ( АКТУАТОР) (ВОЗВРАТ. ЛИНИЯ) ГИДРАВЛИКА

Схема запчастей Komatsu PC220LC-6LC - FIG NO. H7- ГИДРОЛИНИЯ НАВЕСНОЕ ОБОРУД-Е ( АКТУАТОР) (ВОЗВРАТ. ЛИНИЯ) ГИДРАВЛИКА
4
1
5
2
11
7
3
6
13
10
12
35
34
23
30
28
33
13
12
9
32
8
13
31
21
37
13
36
20
22
17
26
27
15
16
14
25
19
18
24
29
FIT
1:1
100%

Артикул

Название

Примечание

Количество

1

20Y-970-2240

NIPPLE

2

07002-12434

O-RING

3

20Y-62-25211

BRACKET

4

01011-51210

BOLT

5

01643-31232

WASHER

6

20Y-970-2240

NIPPLE

7

07002-12434

O-RING

8

01010-51650

BOLT

9

01643-31645

WASHER

10

07102-20604

HOSE

11

07108-21003

HOSE

12

07099-21012

HOSE

13

21T-09-11460

O-RING

14

07371-31049

FLANGE

15

07372-21035

BOLT

16

01643-51032

WASHER

17

206-62-65111

BRACKET

18

01010-51275

BOLT

19

01643-31232

WASHER

20

20Y-62-25182

BRACKET

21

01010-51660

BOLT

22

01643-31645

WASHER

23

01010-51240

BOLT

24

01643-31232

WASHER

25

206-62-65111

BRACKET

26

01010-51275

BOLT

27

01643-31232

WASHER

28

20Y-62-25192

BRACKET

29

01010-51660

BOLT

30

01643-31645

WASHER

31

01010-51240

BOLT

32

01643-31232

WASHER

33

20Y-62-25232

BRACKET

34

01010-51655

BOLT

35

01643-31645

WASHER

36

01010-51640

BOLT

37

01643-31645

WASHER

Выбрано товаров: 37