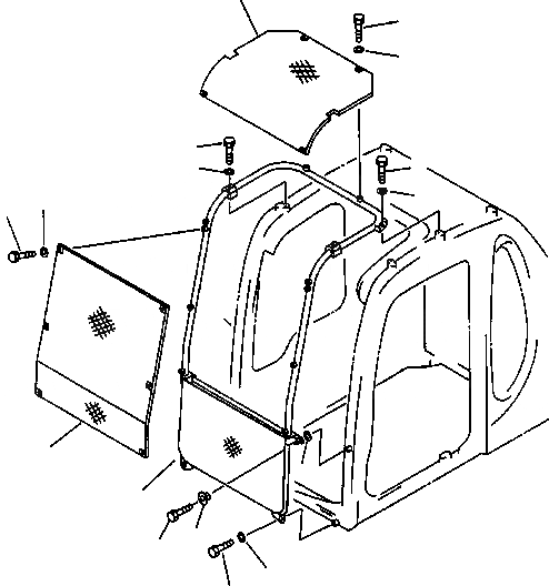
Запчасти Komatsu PC220LC-6LC FIG NO. K- ФРОНТАЛЬНАЯ ЗАЩИТА (ПОЛН.) КАБИНА ОПЕРАТОРА И СИСТЕМА УПРАВЛЕНИЯ

Схема запчастей Komatsu PC220LC-6LC - FIG NO. K- ФРОНТАЛЬНАЯ ЗАЩИТА (ПОЛН.) КАБИНА ОПЕРАТОРА И СИСТЕМА УПРАВЛЕНИЯ
5
6
7
8
8
10
10
4
3
2
12
1
9
11
10
8
FIT
1:1
100%

Артикул

Название

Примечание

Количество

1

20Y-970-4512

GUARD, FRONT LOWER

2

20Y-970-4532

GUARD, FRONT UPPER

3

01010-50816

BOLT

4

175-61-23220

WASHER

5

20Y-970-4521

GUARD

6

01010-50816

BOLT

7

175-61-23220

WASHER

8

01010-51220

BOLT

9

20Y-970-4370

COLLAR

10

01643-31232

WASHER

11

01010-51275

BOLT

12

175-54-34170

WASHER

Выбрано товаров: 12