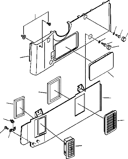
Запчасти Komatsu PC220LC-6LC FIG NO. K7- ОТДЕЛКА COVER КАБИНА ОПЕРАТОРА И СИСТЕМА УПРАВЛЕНИЯ

Схема запчастей Komatsu PC220LC-6LC - FIG NO. K7- ОТДЕЛКА COVER КАБИНА ОПЕРАТОРА И СИСТЕМА УПРАВЛЕНИЯ
12
14
13
11
14
13
11
1
2
4
3
5
9
6
10
8
7
FIT
1:1
100%

Артикул

Название

Примечание

Количество

1

20Y-54-36752

COVER

2

20Y-54-36771

COVER

3

20Y-54-36882

COVER

4

20Y-54-36971

PACKING

5

20Y-54-36981

PACKING

6

20Y-979-2150

GRILL

7

20Y-979-2170

GRILL

8

20Y-54-36891

PLATE

9

20Y-54-36721

CLIP

10

01370-00412

SCREW

11

20Y-54-36470

CAP

12

20Y-54-36791

RIVET

13

01252-40620

BOLT

14

209-72-12230

WASHER

Выбрано товаров: 0