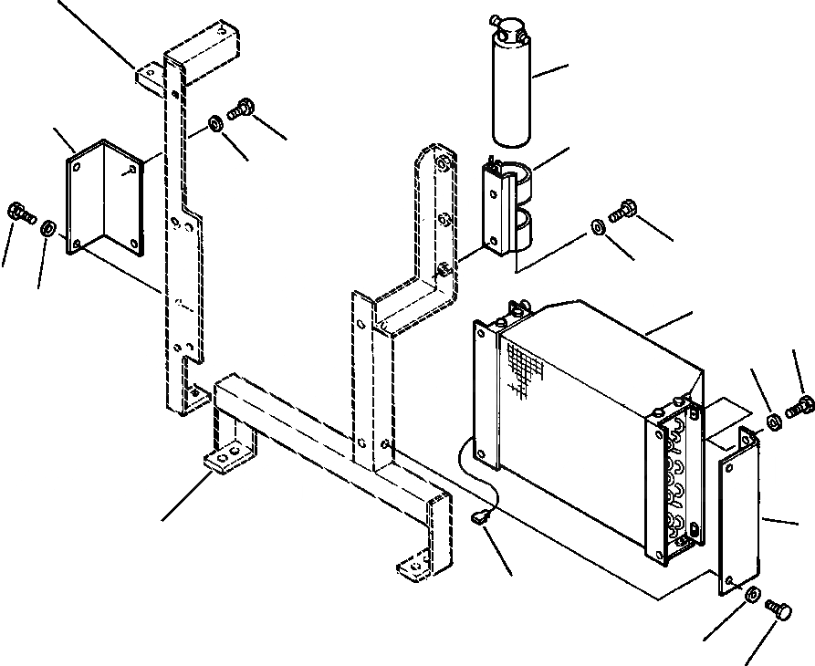
Запчасти Komatsu PC220LC-6LE FIG NO. K7-A КОНДИЦ. ВОЗДУХА - EAGLE КРЕПЛЕНИЕ КОНДЕНСАТОРА КАБИНА ОПЕРАТОРА И СИСТЕМА УПРАВЛЕНИЯ

Схема запчастей Komatsu PC220LC-6LE - FIG NO. K7-A КОНДИЦ. ВОЗДУХА - EAGLE КРЕПЛЕНИЕ КОНДЕНСАТОРА КАБИНА ОПЕРАТОРА И СИСТЕМА УПРАВЛЕНИЯ
14
8
3
9
4
5
10
11
6
7
1
4
5
2
13
12
7
6
FIT
1:1
100%

Артикул

Название

Примечание

Количество

2

20Y-979-A350

PLATE, L.H. MOUNTING

3

20Y-979-A360

PLATE, R.H. MOUNTING

4

01010-81025

BOLT

5

01643-31032

WASHER

6

01010-81225

BOLT

7

01643-31232

WASHER

8

425-963-A221

RECEIVER-DRIER

9

425-963-A210

BRACKET, RECEIVER-DRIER

10

01010-80820

BOLT

11

01643-30823

WASHER

12

207-979-A170

HARNESS, WIRING

Выбрано товаров: 11