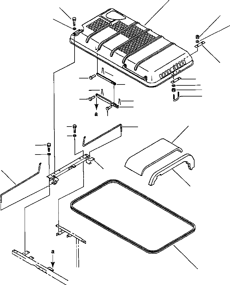
Запчасти Komatsu PC220LC-6LE FIG NO. M-A КАПОТ ЧАСТИ КОРПУСА

Схема запчастей Komatsu PC220LC-6LE - FIG NO. M-A КАПОТ ЧАСТИ КОРПУСА
1
16
4
17
5
3
15
14
3
13
5
4
15
2
14
15
12
14
7
16
10
17
16
17
11
9
6
8
FIT
1:1
100%

Артикул

Название

Примечание

Количество

|$0

20Y-54-26600

HOOD ASSEMBLY

1

20Y-54-A7110

HOOD

|$2

20Y-54-K7321

HINGE

2

20Y-54-27172

U-BOLT

3

20Y-54-27330

PLATE

4

01580-11210

NUT

5

01643-31232

WASHER

6

20Y-54-26610

SHEET

7

20Y-54-27261

SHEET

8

206-54-A1130

SEAL

N/I

206-54-A1140

SEAL

9

20Y-54-25381

FRAME

10

20Y-54-29380

SPRING

11

20Y-54-29390

SPRING

12

20Y-54-27370

STAY

13

20Y-54-27290

STAY

14

04205-11230

PIN

15

04050-13022

PIN, COTTER

16

01010-81230

BOLT

17

01643-31232

WASHER

Выбрано товаров: 20