Запчасти Komatsu PC220LC-6LE FIG NO. T-A ТРУБЫ - ДОПОЛН. ГИДРАВЛS КЛАПАН ОСТАНОВКИ ASSEMBLY РАБОЧЕЕ ОБОРУДОВАНИЕ

Схема запчастей Komatsu PC220LC-6LE - FIG NO. T-A ТРУБЫ - ДОПОЛН. ГИДРАВЛS КЛАПАН ОСТАНОВКИ ASSEMBLY РАБОЧЕЕ ОБОРУДОВАНИЕ
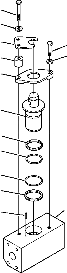
11
12
10
5
12
13
3
2
7
6
8
9
1
4
FIT
1:1
100%

Артикул

Название

Примечание

Количество

|$0

20Y-970-2300

STOP VALVE ASSEMBLY

1

20Y-970-3230

BODY

2

20Y-970-3240

ROTOR

3

20Y-970-3270

PLATE

4

04025-00412

PIN

5

01010-81025

BOLT

6

07000-13042

O-RING

7

07001-03032

RING

8

07000-13038

O-RING

9

07001-03038

RING

10

20Y-970-4611

PLATE, LOCK

11

01010-81045

BOLT

12

01643-31032

WASHER

13

201-03-29160

SPACER

Выбрано товаров: 14