Качественные детали и логистика
Оригинальные и аналоговые запчасти с доставкой по России, Казахстану и Беларуси
©2022 PartSell ООО "Система" ИНН 2463123282 ОГРН 1212400004838
Центральный офис: г. Красноярск, Академика Киренского, д.87, пом.4
Телефон: 8 (800) 777-65-74 Email: zakaz@partsell.ru
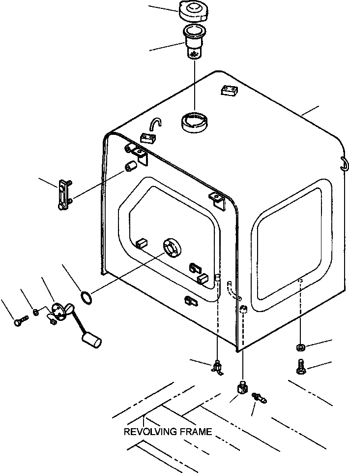
FIG NO. D-A ТОПЛИВН. БАК.
№
Артикул
Название
Примечание
Количество
1
20Y-04-21430
TANK - S/N A83001-A85000
20Y-04-21431
TANK - S/N A85001 AND UP
2
21S-04-11151
GAUGE
3
07700-50240
VALVE
4
20Y-04-11160
CAP
|$5
20Y-04-11240
PACKING
5
7861-92-5810
SENSOR
6
07000-13050
O-RING
7
01010-80612
BOLT
8
01643-30623
WASHER
9
205-04-71140
STRAINER - S/N A83001-A85000
205-04-71141
STRAINER - S/N A85001 AND UP
|$12
20Y-04-21550
FLOAT ASSEMBLY - S/N A85001 AND UP
|$13
20Y-04-21560
GUIDE
|$14
20Y-04-21570
FLOAT
|$15
20Y-04-21580
10
209-04-13130
ELBOW
11
140-99-99360
NIPPLE
12
01010-81635
13
01643-31645
N/I
195-03-11570
SHIM PLATE
Выбрано товаров: 0