Качественные детали и логистика
Оригинальные и аналоговые запчасти с доставкой по России, Казахстану и Беларуси
©2022 PartSell ООО "Система" ИНН 2463123282 ОГРН 1212400004838
Центральный офис: г. Красноярск, Академика Киренского, д.87, пом.4
Телефон: 8 (800) 777-65-74 Email: zakaz@partsell.ru
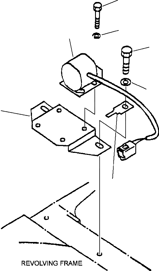
СИГНАЛ ХОДА
№
Артикул
Название
Примечание
Количество
1
207-06-A1240
ALARM, TRAVEL
2
207-06-A1250
BRACKET
3
01010-80816
BOLT
4
01643-30823
WASHER
5
01010-81225
6
01643-31232
7
08053-01512
CLIP
Выбрано товаров: 0