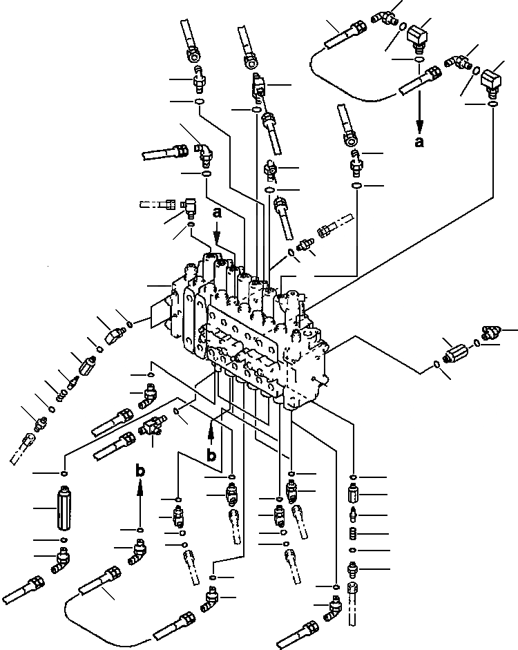
Запчасти Komatsu PC220LC-6LE FIG NO. H-AA ОСНОВН. КЛАПАН С TWO АКТУАТОРS ГИДРАВЛИКА

Схема запчастей Komatsu PC220LC-6LE - FIG NO. H-AA ОСНОВН. КЛАПАН С TWO АКТУАТОРS ГИДРАВЛИКА
39
40
38
39
40
41
12
6
13
41
7
5
5
5
7
7
7
22
23
24
25
1
15
14
21
34
36
16
37
17
18
7
20
35
5
19
27
26
11
9
9
33
8
28
8
7
7
10
2
29
2
41
4
4
30
7
3
3
39
32
5
31
41
7
39
5
38
FIT
1:1
100%

Артикул

Название

Примечание

Количество

2

20Y-62-22271

ELBOW

3

201-60-11390

O-RING

4

20Y-62-19560

O-RING

5

07235-10210

ELBOW

6

208-26-11611

TEE - S/N A83001-A83986

7

07002-11423

O-RING

8

208-62-17550

TEE

9

07002-11423

O-RING

10

20Y-62-27680

ADAPTER

11

07002-11423

O-RING

12

07235-10210

ELBOW

13

07002-11423

O-RING

14

20Y-62-23541

ELBOW - S/N A83001-A85000

14

20F-61-12460

ELBOW - S/N A85001 AND UP

15

07002-11423

O-RING

|$17

20Y-60-22261

VALVE ASSEMBLY - S/N A83001-A85000

|$18

20Y-60-22190

VALVE ASSEMBLY - S/N A85001 AND UP

16

20Y-60-22210

BODY

17

20Y-60-22270

POPPET

18

701-20-61230

SPRING

N/I

20Y-60-22440

NIPPLE - S/N A85001 AND UP

N/I

07002-11423

O-RING - S/N A85001 AND UP

19

07230-20210

UNION

20

07002-11423

O-RING

21

07002-11423

O-RING

22

205-62-74190

ELBOW

23

07002-11223

O-RING

24

07230-20210

UNION

25

07002-11423

O-RING

26

208-62-17550

TEE

27

07002-11423

O-RING

|$33

20Y-60-22261

VALVE ASSEMBLY

28

20Y-60-22210

BODY

29

20Y-60-22270

POPPET

30

701-20-61230

SPRING

31

07230-20210

UNION

32

07002-11423

O-RING

33

07002-11423

O-RING

34

20Y-62-22160

ADAPTOR

35

07002-11423

O-RING

36

07235-10210

ELBOW

37

07002-11423

O-RING

38

07096-00204

HOSE

39

07235-10210

ELBOW

40

20F-61-12460

ELBOW

41

07002-11423

O-RING

Выбрано товаров: 46