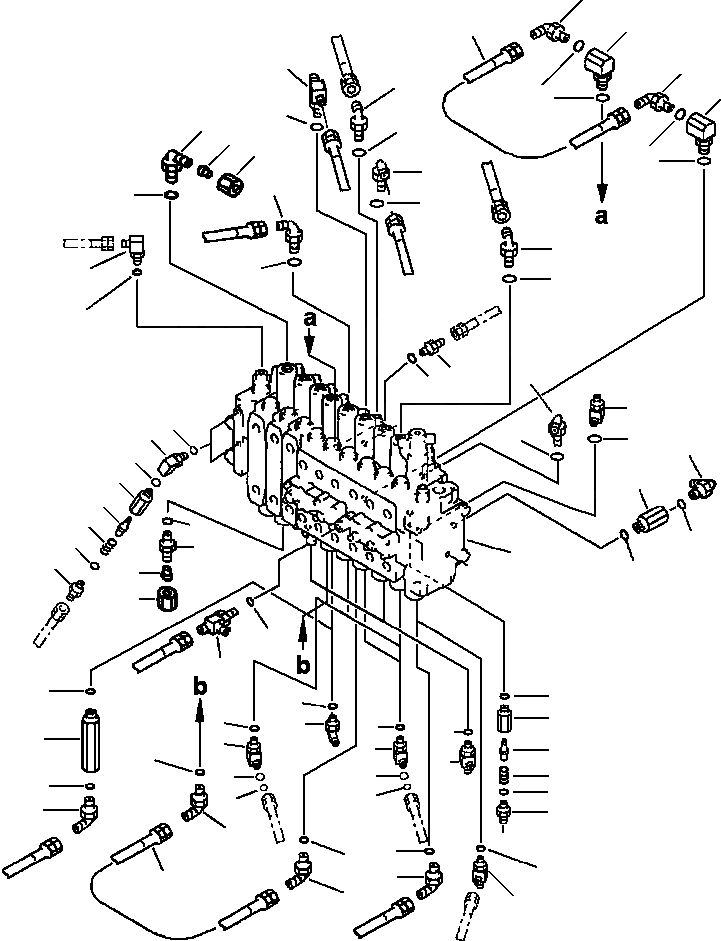
Запчасти Komatsu PC220LC-6LE FIG NO. H-AA ОСНОВН. КЛАПАН С THREE АКТУАТОРS ГИДРАВЛИКА

Схема запчастей Komatsu PC220LC-6LE - FIG NO. H-AA ОСНОВН. КЛАПАН С THREE АКТУАТОРS ГИДРАВЛИКА
42
43
41
6
42
15
43
44
8
5
16
10
9
44
5
5
8
8
5
8
25
8
26
5
27
28
25
18
17
8
26
39
24
19
37
20
21
8
23
40
7
1
22
10
38
9
30
29
14
36
8
31
8
5
8
12
13
2
2
32
44
11
33
4
4
8
35
3
3
5
34
42
8
44
12
5
41
42
11
FIT
1:1
100%

Артикул

Название

Примечание

Количество

2

20Y-62-22271

ELBOW

3

201-60-11390

O-RING

4

20Y-62-19560

O-RING

5

07235-10210

ELBOW

6

208-26-11611

TEE - S/N A83001-A83986

7

07230-20210

NIPPLE

8

07002-11423

O-RING

9

07221-20210

NUT

10

07222-00210

PLUG

11

208-62-17550

TEE

12

07002-11423

O-RING

13

20Y-62-27680

ADAPTER

14

07002-11423

O-RING

15

07235-10210

ELBOW

16

07002-11423

O-RING

17

20Y-62-23541

ELBOW - S/N A83001-A85000

17

20F-61-12460

ELBOW - S/N A85001 AND UP

18

07002-11423

O-RING

|$20

20Y-60-22261

VALVE ASSEMBLY - S/N A83001-A85000

|$21

20Y-60-22190

VALVE ASSEMBLY - S/N A85001 AND UP

19

20Y-60-22210

BODY

20

20Y-60-22270

POPPET

21

701-20-61230

SPRING

N/I

20Y-60-22440

NIPPLE - S/N A85001 AND UP

N/I

07002-11423

O-RING - S/N A85001 AND UP

22

07230-20210

UNION

23

07002-11423

O-RING

24

07002-11423

O-RING

25

205-62-74190

ELBOW

26

07002-11223

O-RING

27

07230-20210

UNION

28

07002-11423

O-RING

29

208-62-17550

TEE

30

07002-11423

O-RING

|$38

20Y-60-22261

VALVE ASSEMBLY

31

20Y-60-22210

BODY

32

20Y-60-22270

POPPET

33

701-20-61230

SPRING

34

07230-20210

UNION

35

07002-11423

O-RING

36

07002-11423

O-RING

37

20Y-62-22160

ADAPTOR

38

07002-11423

O-RING

39

07235-10210

ELBOW

40

07002-11423

O-RING

41

07096-00204

HOSE

42

07235-10210

ELBOW

43

20F-61-12460

ELBOW

44

07002-11423

O-RING

Выбрано товаров: 49