Запчасти Komatsu PC220LC-6Z ЛЕВ. СТОЙКА (ОСНОВ.) (РЫЧАГ С КЛАПАНОМ PPC)(№-8) КАБИНА ОПЕРАТОРА И СИСТЕМА УПРАВЛЕНИЯ

Схема запчастей Komatsu PC220LC-6Z - ЛЕВ. СТОЙКА (ОСНОВ.) (РЫЧАГ С КЛАПАНОМ PPC)(№-8) КАБИНА ОПЕРАТОРА И СИСТЕМА УПРАВЛЕНИЯ
FIT
1:1
100%

Артикул

Название

Примечание

Количество

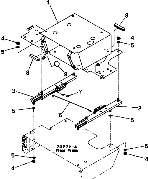
1

20Y-54-23951

BRACKET

2

20Y-57-21360

ADJUSTER,L.H.

3

20Y-57-21370

ADJUSTER,R.H.

4

01580-11210

NUT

5

01643-31232

WASHER

6

20Y-57-21380

WIRE

7

20Y-57-21390

WIRE

8

201-977-7121

SEAL

9

09304-00835

KNOB

Выбрано товаров: 9