Запчасти Komatsu PC220LC-7 КОВШ¤ .M (CECE .9M)¤ MM (ГОРИЗОНТАЛЬН. ПАЛЕЦ) (УСИЛ.) (С РЕГУЛЯТОРОМ) (100 ЧАСОВ) РАБОЧЕЕ ОБОРУДОВАНИЕ

Схема запчастей Komatsu PC220LC-7 - КОВШ¤ .M (CECE .9M)¤ MM (ГОРИЗОНТАЛЬН. ПАЛЕЦ) (УСИЛ.) (С РЕГУЛЯТОРОМ) (100 ЧАСОВ) РАБОЧЕЕ ОБОРУДОВАНИЕ
FIT
1:1
100%

Артикул

Название

Примечание

Количество

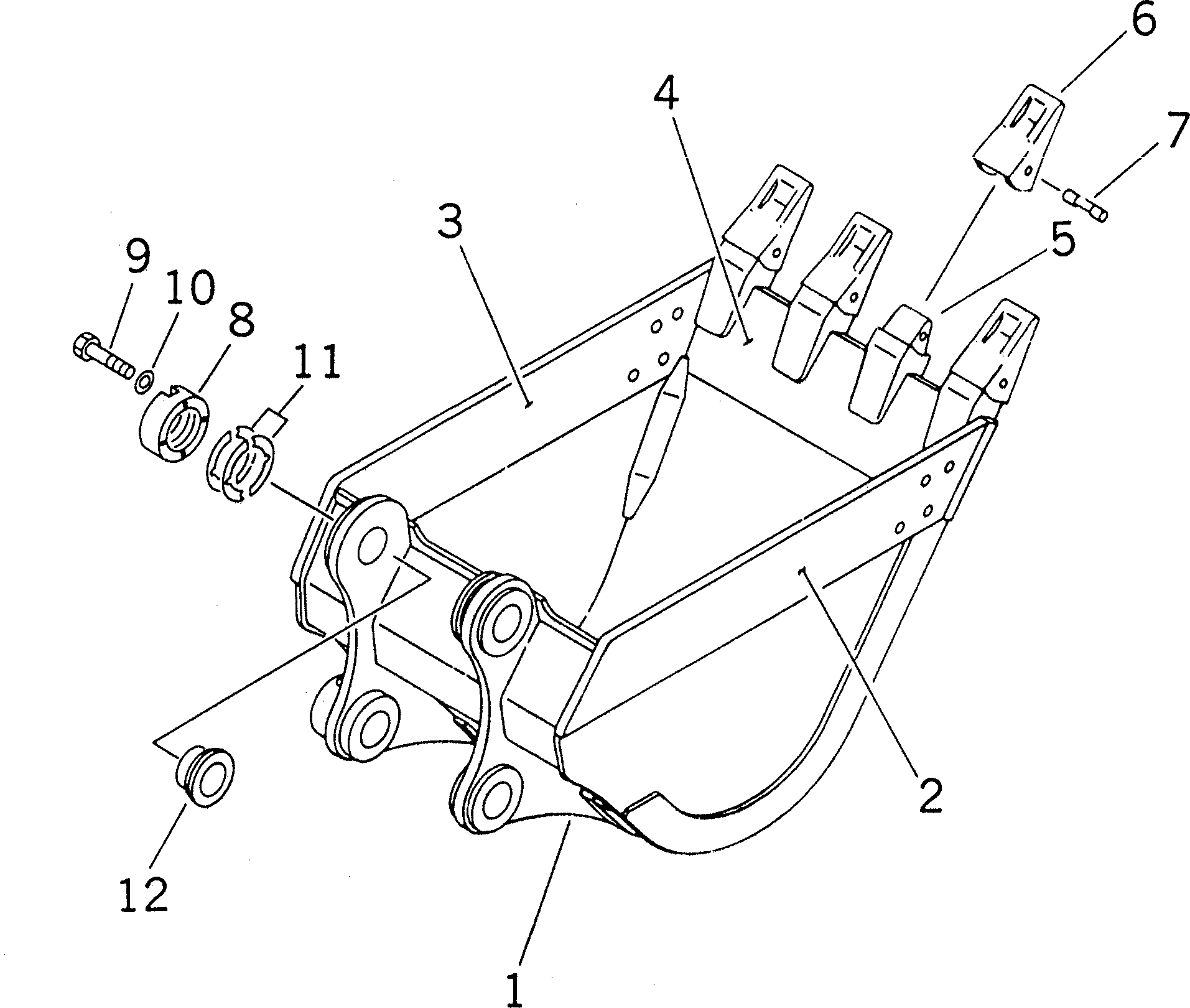
1

206-939-5510

BUCKET

2

206-70-58220

PLATE,L.H. (WELDED)

3

206-70-58230

PLATE,R.H. (WELDED)

4

206-939-5520

PLATE (WELDED)

5

206-939-5550

ADAPTER (WELDED)

6

206-70-48610

TOOTH

7

09244-02516

PIN

8

205-70-74391

PLATE

9

01010-62055

BOLT

10

01643-32060

WASHER

11

205-70-00100

SHIM ASS'Y

11

SHIM, 1.0MM

11

SHIM, 1.0MM

11

SHIM, 1.0MM

11

SHIM, 1.0MM

11

SHIM, 0.5MM

12

205-70-74381

SPACER

Выбрано товаров: 17