Запчасти Komatsu PC220LC-8 ТОПЛИВН. БАК.(№78-77) ТОПЛИВН. БАК. AND КОМПОНЕНТЫ

Схема запчастей Komatsu PC220LC-8 - ТОПЛИВН. БАК.(№78-77) ТОПЛИВН. БАК. AND КОМПОНЕНТЫ
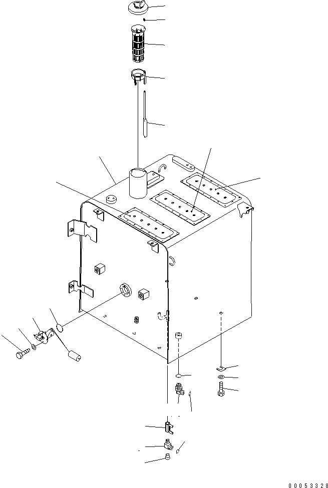
1
2
3
4
5
6
7
8
9
10
11
12
13
14
15
16
17
18
18
18
19
20
21
FIT
1:1
100%

Артикул

Название

Примечание

Количество

1

20Y-04-41224

TANK

1

20Y-04-41223

TANK

2

07700-50240

VALVE

3

20Y-04-41231

ELBOW

4

07043-A0108

PLUG

5

02896-11009

O-RING

6

20Y-04-11161

CAP

6

20Y-04-11160

CAP

|$17

20Y-04-11240

PACKING

7

7861-92-5810

SENSOR

8

07000-13050

O-RING

9

01010-80612

BOLT

10

01643-30623

WASHER

|$24

22U-04-21241

STRAINER ASS'Y

|$25

22U-04-21200

FLOAT ASS'Y

11

22U-04-21210

GUIDE

12

20Y-04-21580

CAP

13

22U-04-21220

FLOAT

14

07056-18425

STRAINER

15

02782-10315

ELBOW

16

07002-12034

O-RING

17

02896-11009

O-RING

18

20Y-00-42110

PLATE

19

01010-81635

BOLT

20

01643-31645

WASHER

21

195-03-11570

SHIM, 1.0MM

Выбрано товаров: 26