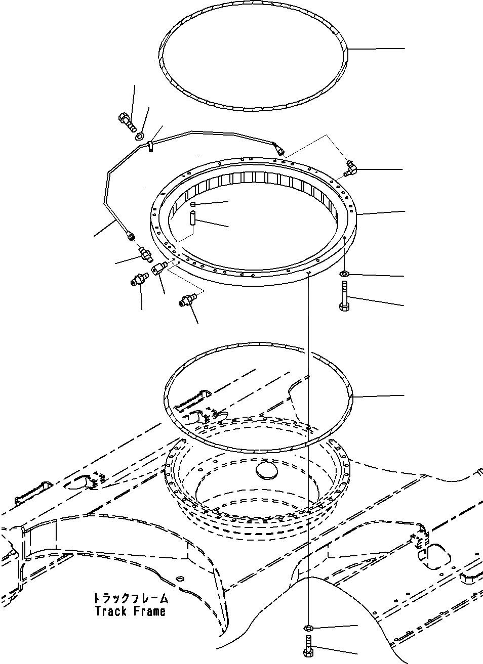
Запчасти Komatsu PC220LC-8 ПОВОРОТН. КРУГ ПОВОРОТН. КРУГ И ITS КОМПОНЕНТЫ

Схема запчастей Komatsu PC220LC-8 - ПОВОРОТН. КРУГ ПОВОРОТН. КРУГ И ITS КОМПОНЕНТЫ
11
13
1
2
2
4
5
6
14
15
10
16
3
14
8
7
9
12
FIT
1:1
100%

Артикул

Название

Примечание

Количество

1

206-25-00301

Swing Circle Assembly

2

205-25-71152

Seal

3

205-25-71280

Nipple

4

206-25-71130

Bolt

5

01643-72260

Washer, Flat

6

04020-01842

Pin, Dowel

7

20Y-46-21520

Cap

8

07214-50813

Connector

9

20Y-25-21123

Tube

10

20Y-25-11270

Elbow

11

08036-00814

Clip

12

01010-81016

Bolt

13

01643-31032

Washer

14

07020-00000

Fitting, Grease

15

206-25-61110

Bolt

16

01643-72260

Washer, Flat

Выбрано товаров: 0