Качественные детали и логистика
Оригинальные и аналоговые запчасти с доставкой по России, Казахстану и Беларуси
©2022 PartSell ООО "Система" ИНН 2463123282 ОГРН 1212400004838
Центральный офис: г. Красноярск, Академика Киренского, д.87, пом.4
Телефон: 8 (800) 777-65-74 Email: zakaz@partsell.ru
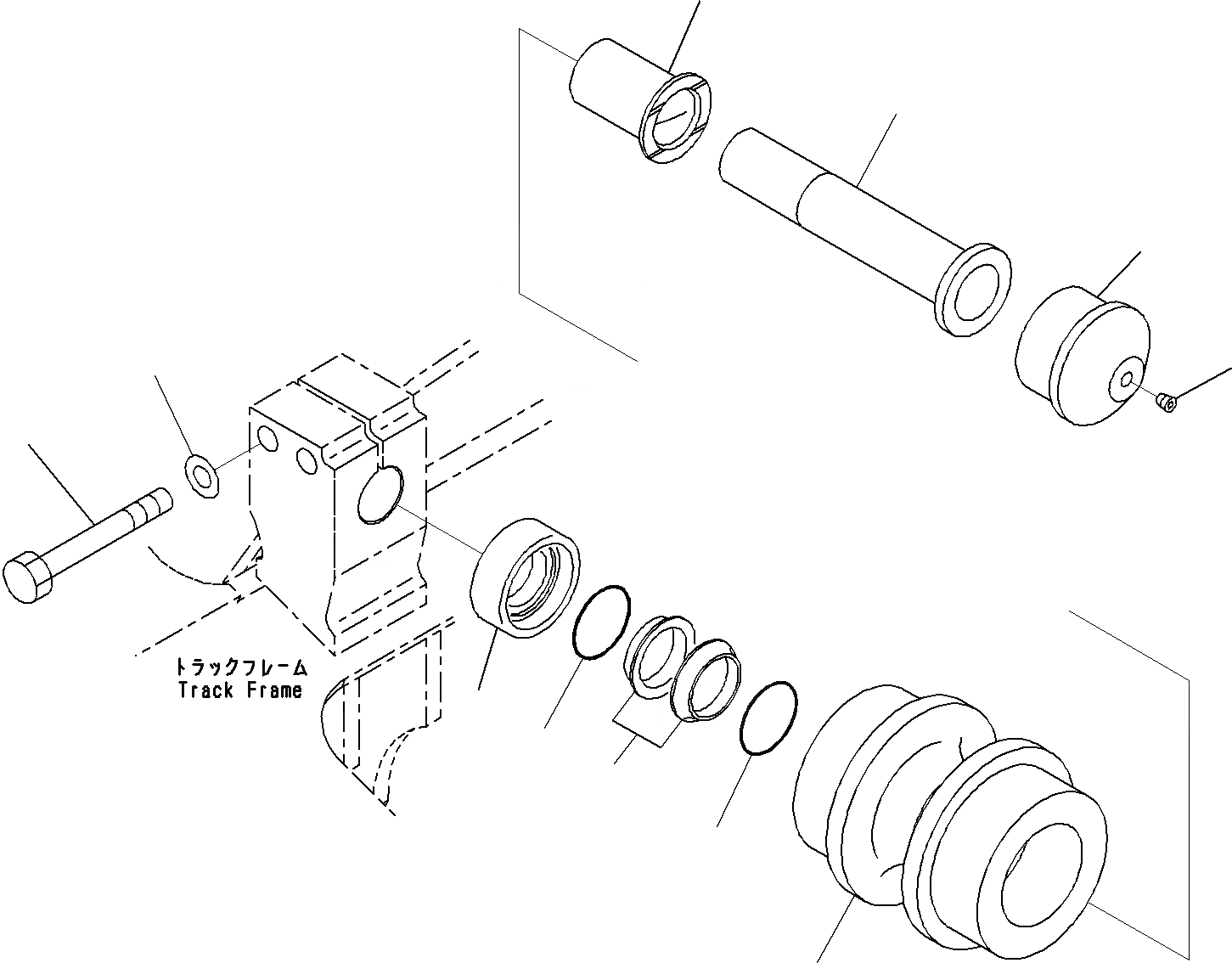
ПОДДЕРЖИВАЮЩИЙ КАТОК
№
Артикул
Название
Примечание
Количество
|1
20Y-30-00481
Roller Assembly, Carrier
1
20Y-30-43260
Roller
2
20Y-30-43221
Shaft
3
20Y-30-43230
Ring
4
20Y-30-43240
Cover
5
20Y-30-43250
Bushing
|5
110-30-00086
Seal Ring Assembly
6
Seal
7
O-ring
8
20Y-30-16330
Plug
9
01010-81680
Bolt
10
01643-31645
Washer
Выбрано товаров: 0