Запчасти Komatsu PC220LC-8 ПРОТИВОВЕС (№8-) ПРОТИВОВЕС, KG

Схема запчастей Komatsu PC220LC-8 - ПРОТИВОВЕС (№8-) ПРОТИВОВЕС, KG
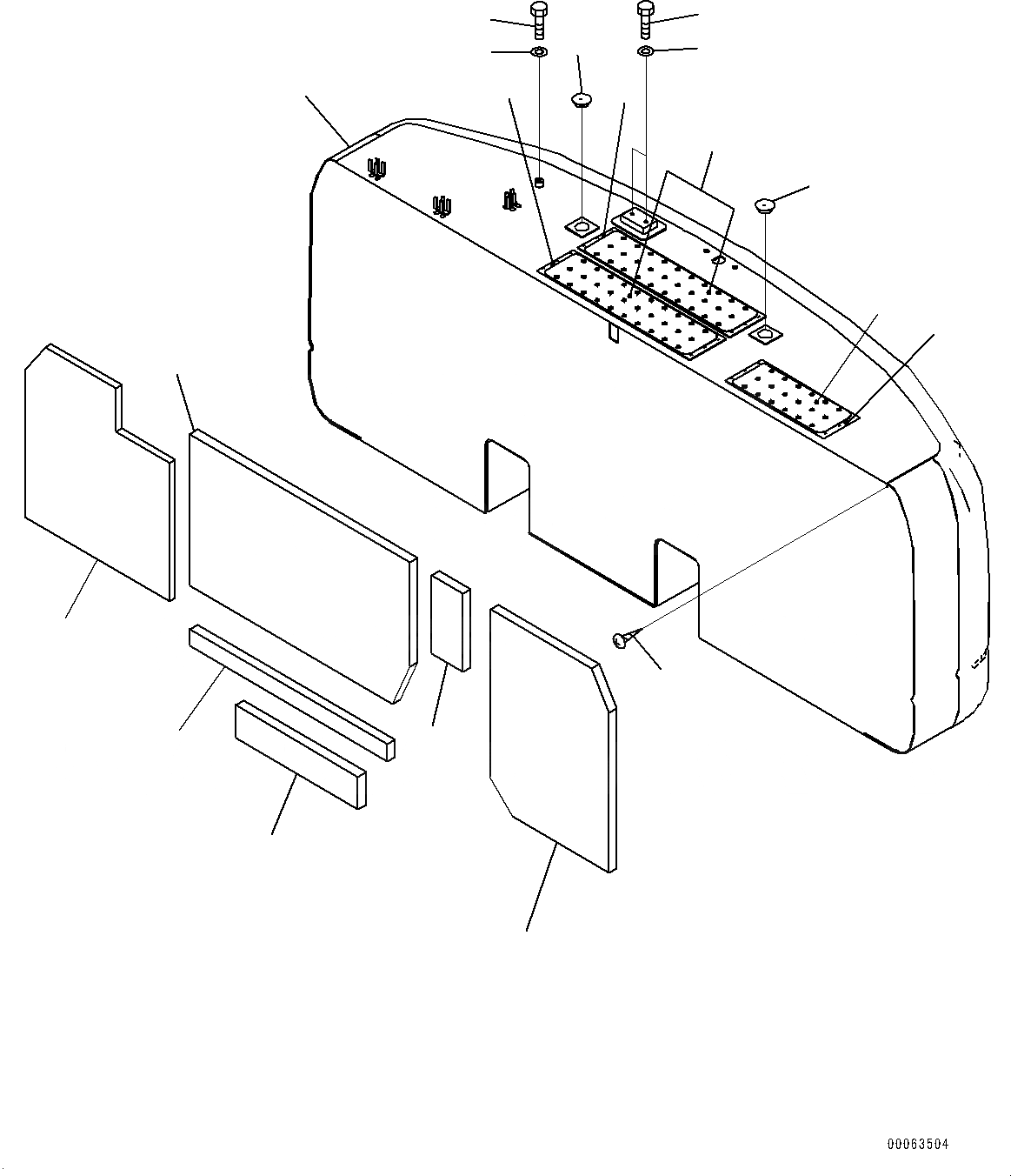
14
13
9
7
8
5
6
4
2
15
14
10
1
12
11
12
3
2
15
FIT
1:1
100%

Артикул

Название

Примечание

Количество

|$0

206-46-24113

Weight

1

Weight

2

20Y-46-54313

Plate,Welded

3

20Y-46-54323

Plate,Welded

4

20Y-46-54141

Sheet

5

20Y-46-54151

Sheet

6

20Y-46-54160

Sheet

7

20Y-46-54170

Sheet

8

20Y-46-54180

Sheet

9

20Y-46-54190

Sheet

10

20Y-00-42150

Plate

11

20Y-00-42160

Plate

12

20Y-46-11270

Cap

13

01370-00508

Screw

14

01010-81220

Bolt

15

01643-31232

Washer

Выбрано товаров: 16