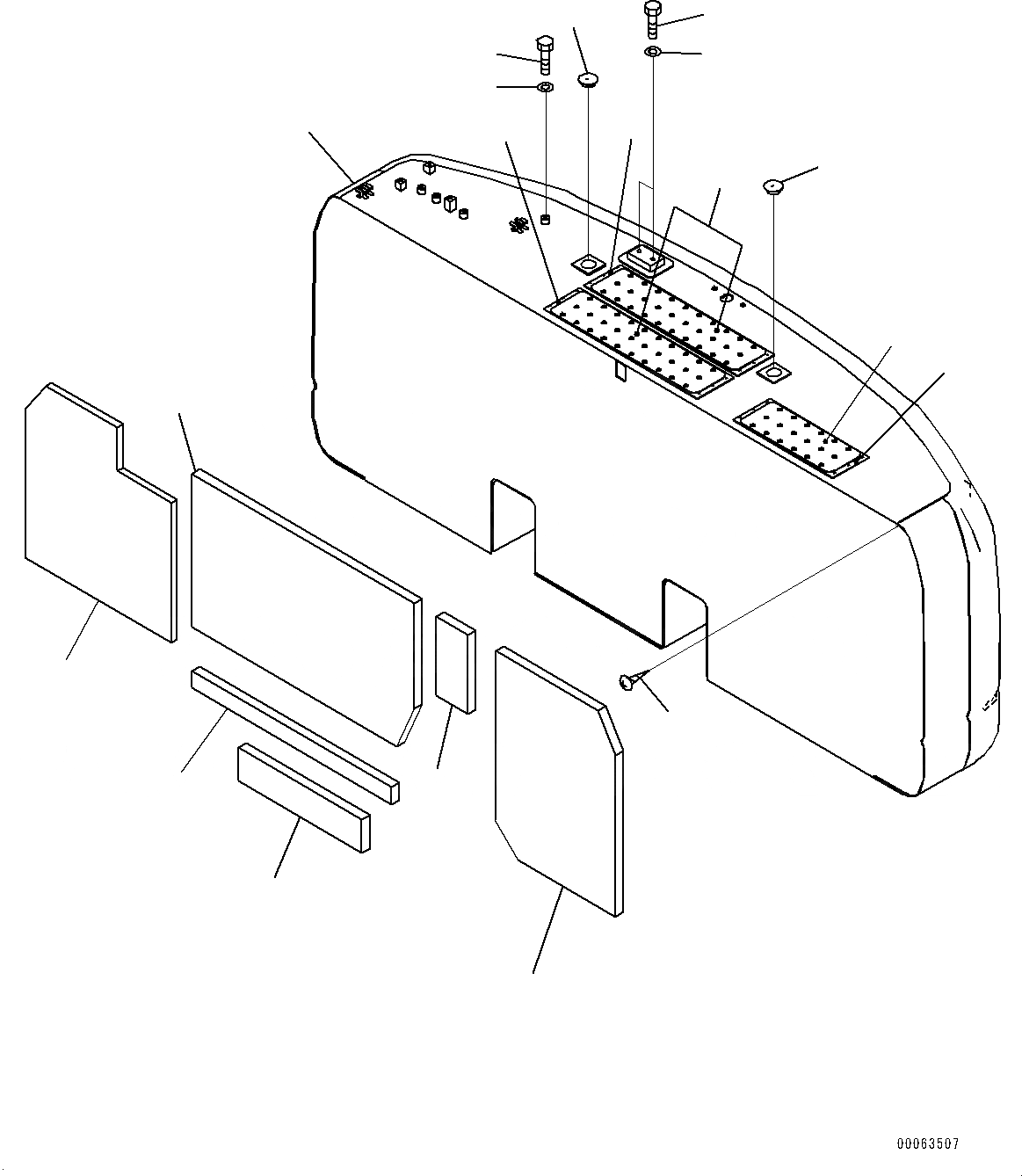
Запчасти Komatsu PC220LC-8 ПРОТИВОВЕС (№8-) ПРОТИВОВЕС, KG, С ЗАДН.VIEW CAMERA

Схема запчастей Komatsu PC220LC-8 - ПРОТИВОВЕС (№8-) ПРОТИВОВЕС, KG, С ЗАДН.VIEW CAMERA
10
2
4
6
5
8
7
9
13
1
12
11
15
14
15
14
12
3
2
FIT
1:1
100%

Артикул

Название

Примечание

Количество

|$0

206-46-28411

Weight

1

Weight

2

20Y-46-54313

Plate,Welded

3

20Y-46-54323

Plate,Welded

4

20Y-46-54141

Sheet

5

20Y-46-54151

Sheet

6

20Y-46-54160

Sheet

7

20Y-46-54170

Sheet

8

20Y-46-54180

Sheet

9

20Y-46-54190

Sheet

10

20Y-00-42150

Plate

11

20Y-00-42160

Plate

12

20Y-46-11270

Cap

13

01370-00508

Screw

14

01010-81220

Bolt

15

01643-31232

Washer

Выбрано товаров: 16