Запчасти Komatsu PC220LC-8 M-A РАМА КАПОТ ЧАСТИ КОРПУСА

Схема запчастей Komatsu PC220LC-8 - M-A РАМА КАПОТ ЧАСТИ КОРПУСА
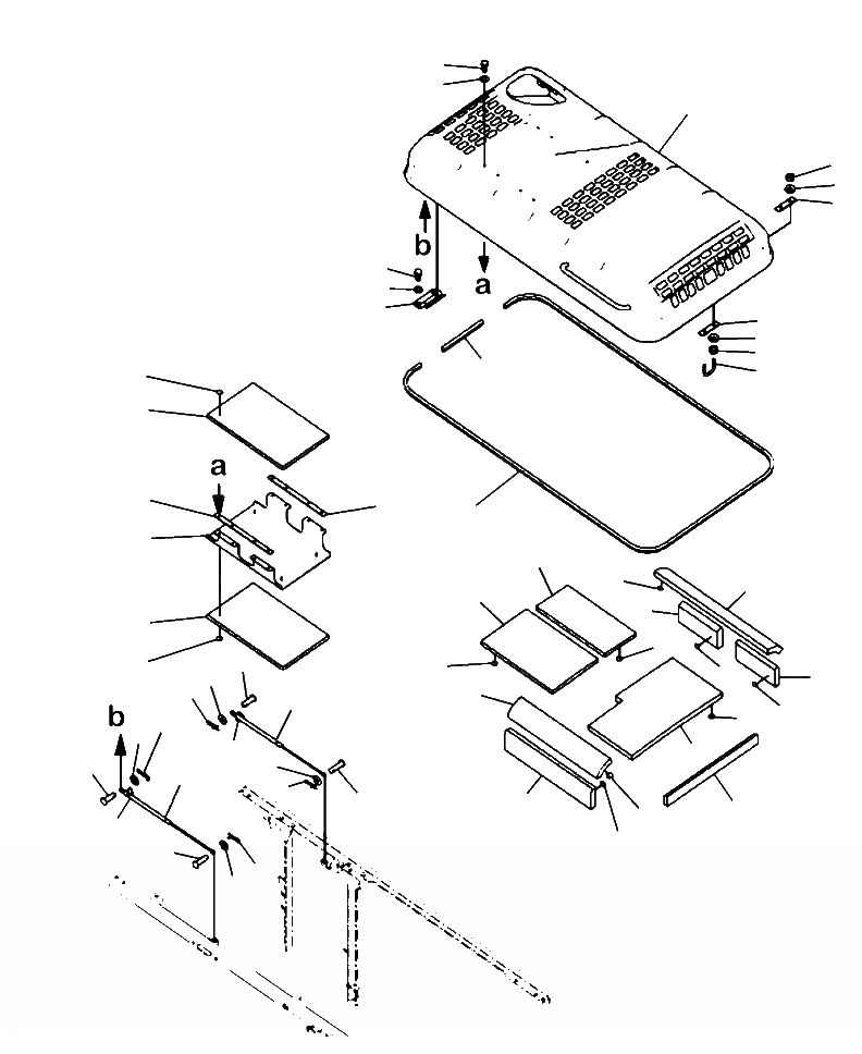
30
31
1
5
6
4
33
34
2
4
6
5
25
3
28
27
29
29
24
26
21
14
23
22
20
27
23
8
28
23
9
23
19
10
17
7
23
23
13
12
32
15
8
9
7
10
11
18
16
23
13
32
23
11
12
FIT
1:1
100%

Артикул

Название

Примечание

Количество

1

20Y-54-71112

HOOD

2

20Y-54-K7321

HINGE, WELDED

3

20Y-54-27172

BOLT, U

4

20Y-54-27330

PLATE

5

01580-11210

NUT

6

01643-31232

WASHER

7

20Y-54-71182

DAMPER

8

04205-00825

PIN

9

01640-20816

WASHER

10

04052-20833

PIN, SNAP

11

04205-30828

PIN

12

01640-20816

WASHER

13

04052-20833

PIN, SNAP

14

20Y-54-72113

SHEET

15

20Y-54-72191

SHEET

16

20Y-54-72881

SHEET

17

20Y-54-72141

SHEET

18

206-54-21130

SHEET

19

206-54-21140

SHEET

20

206-54-21152

SHEET

21

206-54-21252

SHEET

22

206-54-21161

SHEET

23

124-A62-1920

CAP

24

20Y-54-71470

SEAL

25

20Y-54-71480

SEAL

26

206-54-21211

PLATE

27

206-54-21241

SHEET

28

124-A62-1920

CAP

29

20Y-54-71780

PLATE

30

01010-80820

BOLT

31

01643-50823

WASHER

32

08034-20414

BAND

33

01010-81230

BOLT

34

01643-31232

WASHER

Выбрано товаров: 34