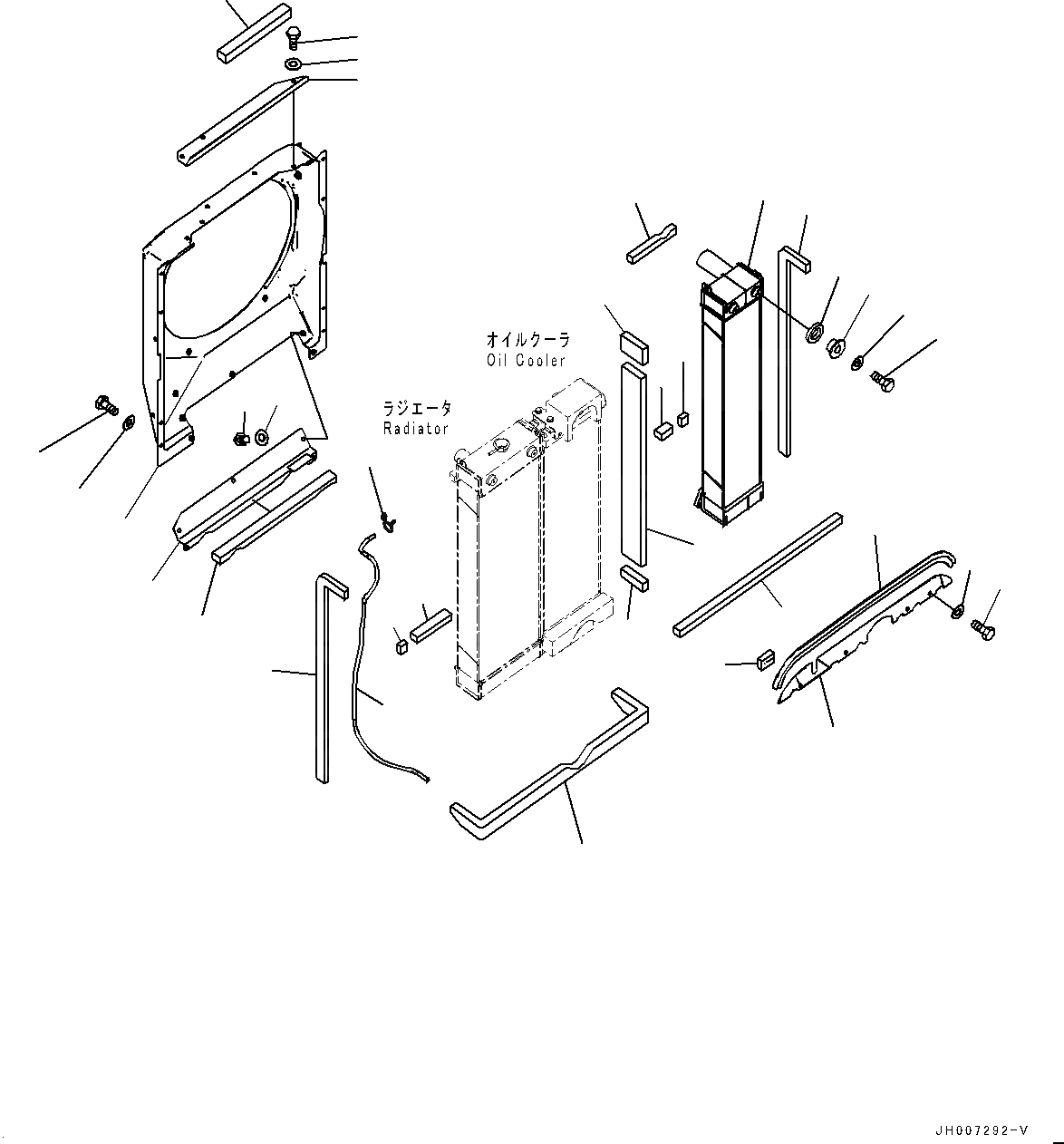
Запчасти Komatsu PC220LC-8M0 СИСТЕМА ОХЛАЖДЕНИЯ, ПОСЛЕОХЛАДИТЕЛЬ И КОЖУХ (№-) СИСТЕМА ОХЛАЖДЕНИЯ, С АВТОМАТИЧ. КОНДИЦ. ВОЗДУХА

Схема запчастей Komatsu PC220LC-8M0 - СИСТЕМА ОХЛАЖДЕНИЯ, ПОСЛЕОХЛАДИТЕЛЬ И КОЖУХ (№-) СИСТЕМА ОХЛАЖДЕНИЯ, С АВТОМАТИЧ. КОНДИЦ. ВОЗДУХА
2
6
7
11
10
13
17
18
20
19
21
22
23
24
25
26
27
28
29
30
34
33
35
3
9
15
14
16
31
32
1
12
8
5
4
FIT
1:1
100%

Артикул

Название

Примечание

Количество

1

206-03-24181

Shroud

2

01010-81020

Bolt

3

01643-31032

Washer

4

206-03-24330

Sheet

5

206-03-24320

Cover

6

01010-81020

Bolt

7

01643-31032

Washer

8

206-03-24351

Cover

9

206-03-24360

Sheet

10

01010-81020

Bolt

11

01643-31032

Washer

12

206-03-24170

Aftercooler

13

206-03-21361

Sheet

14

20Y-03-42260

Sheet

15

20Y-03-42160

Sheet

16

20Y-03-42290

Sheet

17

22U-03-22860

Cushion

18

6738-61-4952

Collar

19

01010-81030

Bolt

20

01643-31032

Washer

21

20Y-03-42340

Hose

22

206-03-43340

Clip

23

206-03-21281

Sheet

24

206-03-21310

Sheet

25

206-03-21320

Sheet

26

206-03-21310

Sheet

27

206-03-21560

Sheet

28

206-03-21570

Sheet

29

20Y-03-46390

Sheet

30

206-03-24421

Sheet

31

20Y-03-41633

Sheet

32

206-03-24410

Cover

33

01010-81020

Bolt

34

01643-31032

Washer

35

20Y-03-46350

Seal

Выбрано товаров: 35