Качественные детали и логистика
Оригинальные и аналоговые запчасти с доставкой по России, Казахстану и Беларуси
©2022 PartSell ООО "Система" ИНН 2463123282 ОГРН 1212400004838
Центральный офис: г. Красноярск, Академика Киренского, д.87, пом.4
Телефон: 8 (800) 777-65-74 Email: zakaz@partsell.ru
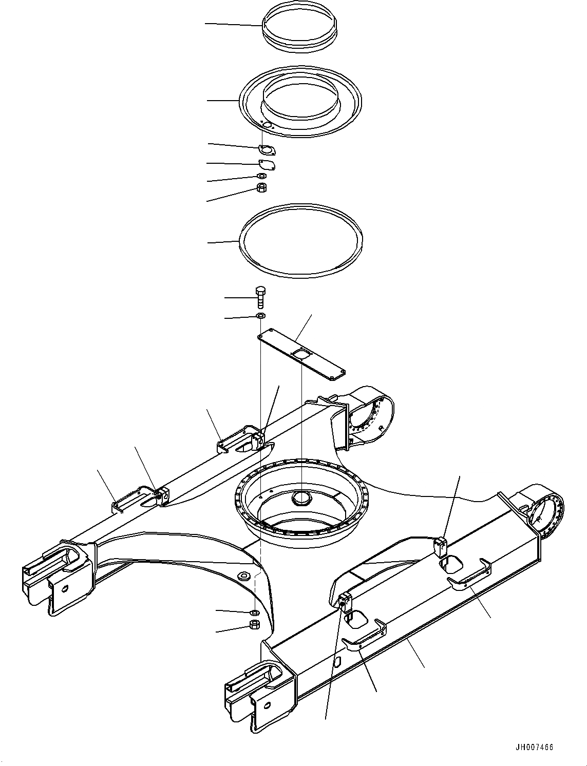
ГУСЕНИЧНАЯ РАМА (№-)
№
Артикул
Название
Примечание
Количество
1
206-30-26311
Frame
2
20Y-30-31D24
Bracket,Welded
3
20Y-30-44C91
Plate
4
206-30-71E81
Bracket
5
01010-82065
Bolt
6
01643-32060
Washer
7
01580-12016
Nut
8
206-30-71160
Cover
9
205-30-71181
10
205-30-71191
Gasket
11
01580-11008
12
01643-31032
13
20Y-30-11370
Seal
14
205-30-71171
Выбрано товаров: 0