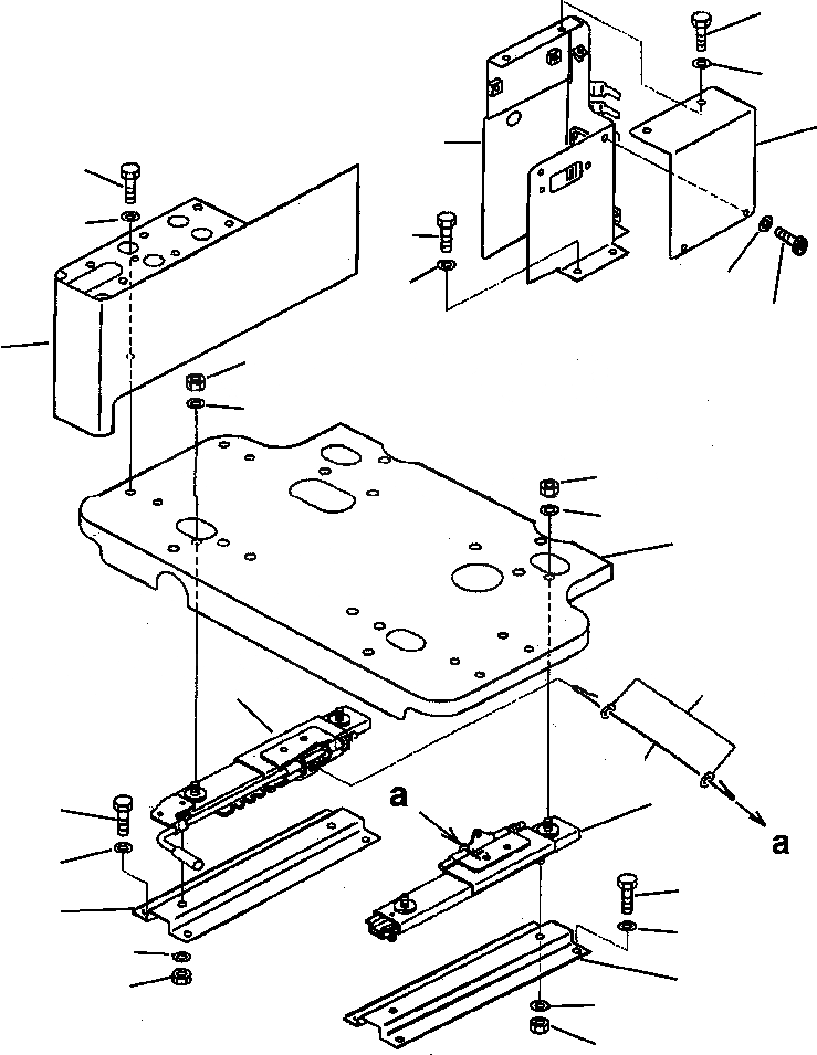
Запчасти Komatsu PC220LL-6 FIG. K-A ОСНОВН. КОНСТРУКЦИЯ - ПРАВ. СТОЙКА РАМА И РЕГУЛЯТОР КАБИНА ОПЕРАТОРА И СИСТЕМА УПРАВЛЕНИЯ

Схема запчастей Komatsu PC220LL-6 - FIG. K-A ОСНОВН. КОНСТРУКЦИЯ - ПРАВ. СТОЙКА РАМА И РЕГУЛЯТОР КАБИНА ОПЕРАТОРА И СИСТЕМА УПРАВЛЕНИЯ
23
24
22
19
2
3
20
24
21
23
1
5
6
5
6
4
12
7
11
15
13
14
13
10
14
9
18
8
17
16
FIT
1:1
100%

Артикул

Название

Примечание

Количество

1

20Y-43-21382

COVER

2

01010-81025

BOLT

3

01643-31032

WASHER

4

207-43-61160

FRAME

5

01582-11008

NUT

6

01643-31032

WASHER

7

20Y-43-22680

ADJUSTER, RIGHT HAND

8

01582-11008

NUT

9

01643-31032

WASHER

10

20Y-43-22320

PLATE

11

20Y-43-22540

WIRE

12

01640-20816

WASHER

13

01010-81025

BOLT

14

01643-31032

WASHER

15

20Y-43-22670

ADJUSTER, RIGHT HAND

16

01582-11008

NUT

17

01643-31032

WASHER

18

20Y-43-22320

PLATE

19

20Y-43-21883

COVER, RIGHT HAND

20

01010-81025

BOLT

21

01643-31032

WASHER

22

20Y-43-21970

COVER, RIGHT HAND

23

01010-80816

BOLT

24

01643-30823

WASHER

Выбрано товаров: 24