Качественные детали и логистика
Оригинальные и аналоговые запчасти с доставкой по России, Казахстану и Беларуси
©2022 PartSell ООО "Система" ИНН 2463123282 ОГРН 1212400004838
Центральный офис: г. Красноярск, Академика Киренского, д.87, пом.4
Телефон: 8 (800) 777-65-74 Email: zakaz@partsell.ru
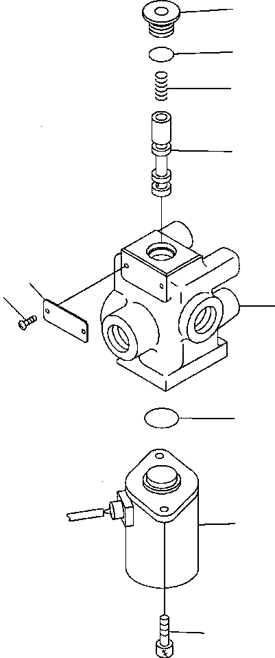
FIG. H8-A СОЛЕНОИДНЫЙ КЛАПАН
№
Артикул
Название
Примечание
Количество
|$0
20Y-60-32110
SOLENOID VALVE ASSEMBLY
1
NSS
BLOCK
3
NY80000-02200
PLUG
4
NY06339-10200
SPRING
5
SPOOL
6
NY09000-11400
PLATE
7
NY84110-00264
SCREW
8
NY81446-05010
BOLT
9
07000-12011
O-RING
10
07000-12016
Выбрано товаров: 0