Качественные детали и логистика
Оригинальные и аналоговые запчасти с доставкой по России, Казахстану и Беларуси
©2022 PartSell ООО "Система" ИНН 2463123282 ОГРН 1212400004838
Центральный офис: г. Красноярск, Академика Киренского, д.87, пом.4
Телефон: 8 (800) 777-65-74 Email: zakaz@partsell.ru
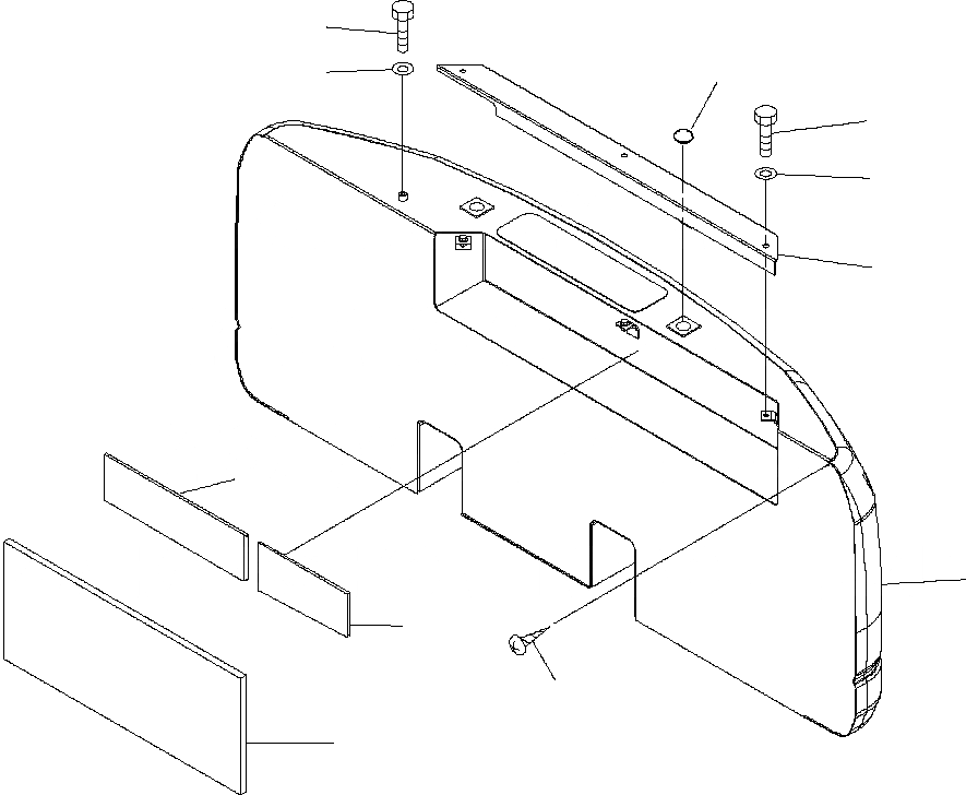
FIG. M-B ПРОТИВОВЕС - HEAVY
№
Артикул
Название
Примечание
Количество
|$0
206-46-A4600
WEIGHT, 6060 KG
1
NSS
WEIGHT
2
20Y-46-44171
SHEET
3
20Y-46-44192
4
20Y-46-A4140
CAP
5
01370-00508
SCREW
6
01010-81220
BOLT
7
01643-31232
WASHER
8
20Y-46-44141
COVER
9
01010-81225
10
Выбрано товаров: 0