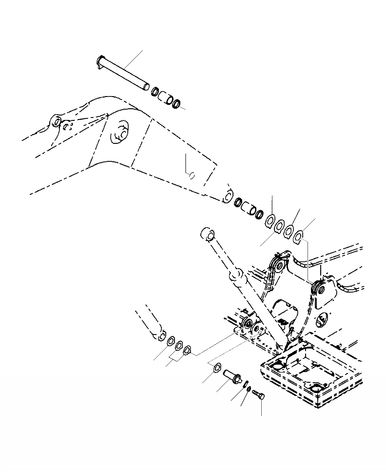
Запчасти Komatsu PC220LL-8 J-A ПАЛЕЦ СТРЕЛЫС КОРПУС АККУМУЛЯТОРА ЧАСТИ КОРПУСА ОСНОВНАЯ РАМА И ЕЕ ЧАСТИ

Схема запчастей Komatsu PC220LL-8 - J-A ПАЛЕЦ СТРЕЛЫС КОРПУС АККУМУЛЯТОРА ЧАСТИ КОРПУСА ОСНОВНАЯ РАМА И ЕЕ ЧАСТИ
1
2
4
5
3
10
11
10
6
7
9
8
FIT
1:1
100%

Артикул

Название

Примечание

Количество

1

206-70-55270

PIN

2

206-70-71440

SPACER, 2.0 MM

3

206-70-71430

SPACER, 2.5 MM

4

206-70-71490

SPACER, 3.0 MM

5

206-70-71570

SPACER, 3.5 MM

6

205-70-65750

PIN

7

205-70-66580

PLATE

8

01010-81235

BOLT

9

01643-31232

WASHER

10

20Y-70-31430

SPACER, 1.0 MM

11

206-70-71450

SPACER, 2.0 MM

Выбрано товаров: 11