Запчасти Komatsu PC220LL-8 M-A ПРОТИВОВЕС ДОПОЛН. ТОПЛИВН. БАК. ОПЦ. ЧАСТИ КОРПУСА

Схема запчастей Komatsu PC220LL-8 - M-A ПРОТИВОВЕС ДОПОЛН. ТОПЛИВН. БАК. ОПЦ. ЧАСТИ КОРПУСА
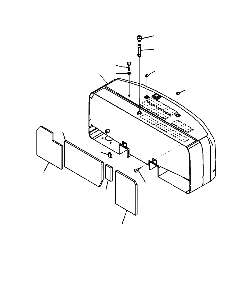
7
6
8
10
1
9
10
2
12
5
11
4
3
FIT
1:1
100%

Артикул

Название

Примечание

Количество

|$0

206-46-A5140

COUNTERWEIGHT

1

NSS

WEIGHT

2

206-46-A5150

SHEET

3

206-46-A5160

SHEET

4

20Y-46-54160

SHEET

5

206-46-A5170

SHEET

6

207-04-75340

TUBE

7

208-04-71780

BREATHER

|$8

421-60-35170

ELEMENT

|$9

421-60-35180

COVER

|$10

421-60-35190

NUT

8

01010-81220

BOLT

9

01643-31232

WASHER

10

20Y-46-11270

CAP

11

01370-00508

SCREW

12

07700-50345

VALVE

Выбрано товаров: 16