Запчасти Komatsu PC228US-2 ТОПЛИВН. БАК. (США) ТОПЛИВН. БАК. AND КОМПОНЕНТЫ

Схема запчастей Komatsu PC228US-2 - ТОПЛИВН. БАК. (США) ТОПЛИВН. БАК. AND КОМПОНЕНТЫ
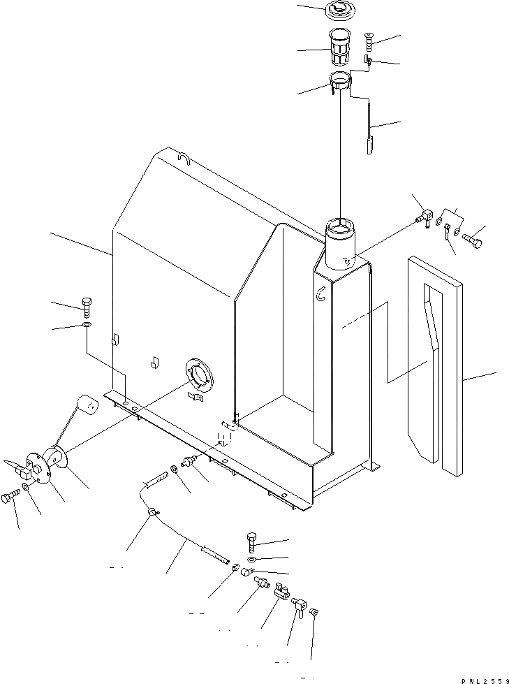
1
2
3
4
5
6
7
8
9
10
11
12
13
14
15
16
17
18
19
20
21
22
22
23
23
24
25
26
27
28
FIT
1:1
100%

Артикул

Название

Примечание

Количество

|$3

22U-04-00040

FUEL TANK ASS'Y

1

TANK

2

20Y-04-11160

CAP

3

7861-92-4940

SENSOR,FUEL

4

07000-12085

O-RING

5

01010-81016

BOLT

6

01643-31032

WASHER

7

205-04-71141

STRAINER

|$16

207-04-61170

FLOAT ASS'Y

8

20Y-04-21560

GUIDE

9

20Y-04-21580

CAP

10

207-04-61180

FLOAT

11

DUMMY-M2L12

SCREW

12

20Y-04-21131

ELBOW

13

20Y-04-21141

TUBE

14

07005-00812

GASKET

15

07206-30508

BOLT

16

154-04-11540

NIPPLE

17

07288-01007

HOSE

18

154-04-11540

NIPPLE

19

07700-50240

VALVE

20

22U-04-12230

TEE

21

07043-A0108

PLUG

22

07281-00197

CLAMP

23

04434-51612

CLIP

24

01010-81225

BOLT

25

01643-31232

WASHER

26

01010-81660

BOLT

27

01643-31645

WASHER

28

22U-04-12240

SHEET

Выбрано товаров: 30