Запчасти Komatsu PC228US-2J КАБИНА (ОКНО В КРЫШЕ) КАБИНА ОПЕРАТОРА И СИСТЕМА УПРАВЛЕНИЯ

Схема запчастей Komatsu PC228US-2J - КАБИНА (ОКНО В КРЫШЕ) КАБИНА ОПЕРАТОРА И СИСТЕМА УПРАВЛЕНИЯ
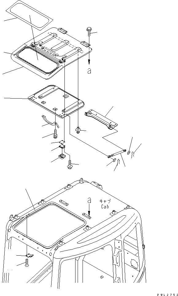
1
2
3
4
5
6
7
8
9
10
11
11
12
12
13
14
15
16
17
18
19
FIT
1:1
100%

Артикул

Название

Примечание

Количество

1

22B-54-14711

ROOF ASS'Y,OPEN

2

22B-54-14720

CLEAR PLATE

3

22B-54-14730

DAM

4

21J-54-16630

GRIP

5

01023-10612

SCREW

6

20Y-54-36351

LOCK ASS'Y

7

20Y-54-36360

COVER

8

22B-54-14260

SPACER

9

01435-00620

BOLT

10

20Y-54-36342

GAS SPRING ASS'Y

11

04052-10833

PIN

12

01643-30823

WASHER

13

22B-54-14771

LINING,ROOF

14

23D-950-4450

BUTTON

15

22B-54-14751

TRIM

16

22B-54-14761

STRIKER

17

01240-00816

SCREW

18

22B-54-14811

PLATE

19

01435-00814

BOLT

Выбрано товаров: 19