Запчасти Komatsu PC228US-3 КАБИНА (RAIL) КАБИНА ОПЕРАТОРА И СИСТЕМА УПРАВЛЕНИЯ

Схема запчастей Komatsu PC228US-3 - КАБИНА (RAIL) КАБИНА ОПЕРАТОРА И СИСТЕМА УПРАВЛЕНИЯ
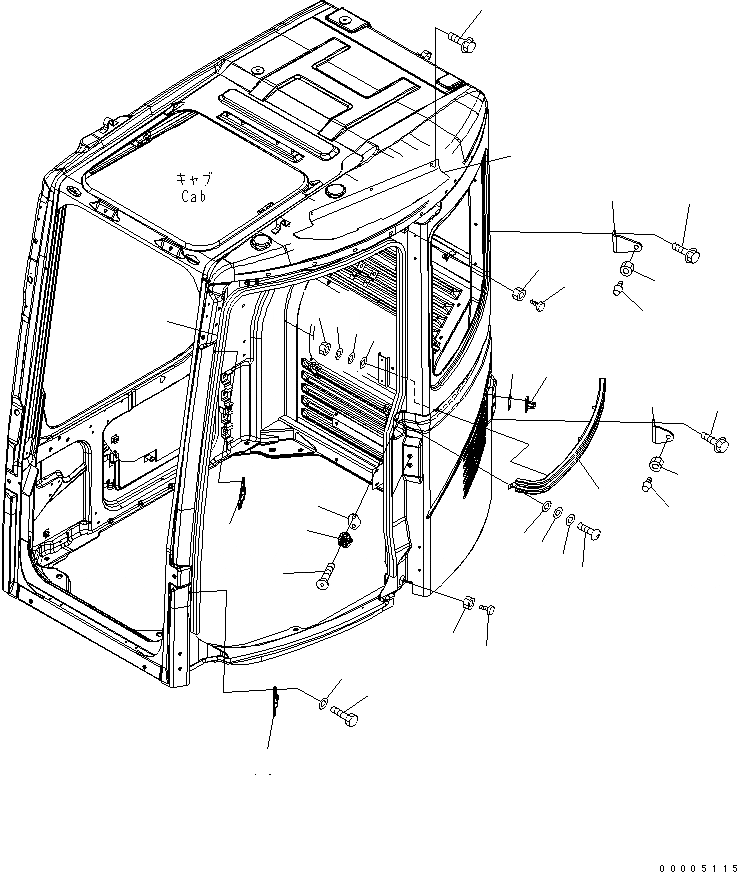
1
2
3
3
4
5
5
6
6
7
8
9
10
10
11
12
13
13
14
14
15
16
17
18
19
20
21
22
22
23
23
24
24
FIT
1:1
100%

Артикул

Название

Примечание

Количество

|$20

22U-54-00210

CAB ASS'Y

|$21

22U-54-00220

CAB ASS'Y,(DEMOLITION SPEC.)

|$22

22U-54-00240

CAB ASS'Y,(VANDALISM PROTECTION)

|$23

22U-54-00250

CAB ASS'Y,(EXCEPT JAPAN)

1

22B-54-16612

TRIM

2

22B-54-16633

RAIL

3

22M-54-16550

PACKING

4

01546-10812

NUT

5

22W-43-17330

WASHER

6

01643-70823

WASHER

7

01245-00816

SCREW

8

22B-54-16661

PLATE

9

01435-40616

BOLT

10

22B-54-16690

STRIKER

11

01010-80616

BOLT

12

01640-20610

WASHER

13

20Y-54-35470

STRIKER

14

20Y-54-35480

SHIM

15

01240-01025

SCREW

16

22B-54-16680

STOPPER

17

01580-11008

NUT

18

22B-54-16680

STOPPER

19

01580-11008

NUT

20

22B-54-16641

BRACKET

21

22B-54-16651

BRACKET

22

01435-40616

BOLT

23

20U-54-25371

STOPPER

24

01580-11210

NUT

Выбрано товаров: 28