Качественные детали и логистика
Оригинальные и аналоговые запчасти с доставкой по России, Казахстану и Беларуси
©2022 PartSell ООО "Система" ИНН 2463123282 ОГРН 1212400004838
Центральный офис: г. Красноярск, Академика Киренского, д.87, пом.4
Телефон: 8 (800) 777-65-74 Email: zakaz@partsell.ru
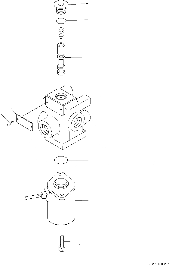
СОЛЕНОИДНЫЙ КЛАПАН (ВНУТР. ЧАСТИ)
№
Артикул
Название
Примечание
Количество
1
20Y-60-32110
VALVE ASS'Y
BLOCK
2
20Y-60-32120
SOLENOID ASS'Y
3
NY08000-02200
PLUG
4
NY06339-10200
SPRING
5
NY07493-10200
SPOOL
6
NY09000-11400
PLATE
7
NY84110-00264
SCREW
8
NY81446-05010
BOLT
9
07000-12011
O-RING
10
07000-12016
Выбрано товаров: 0