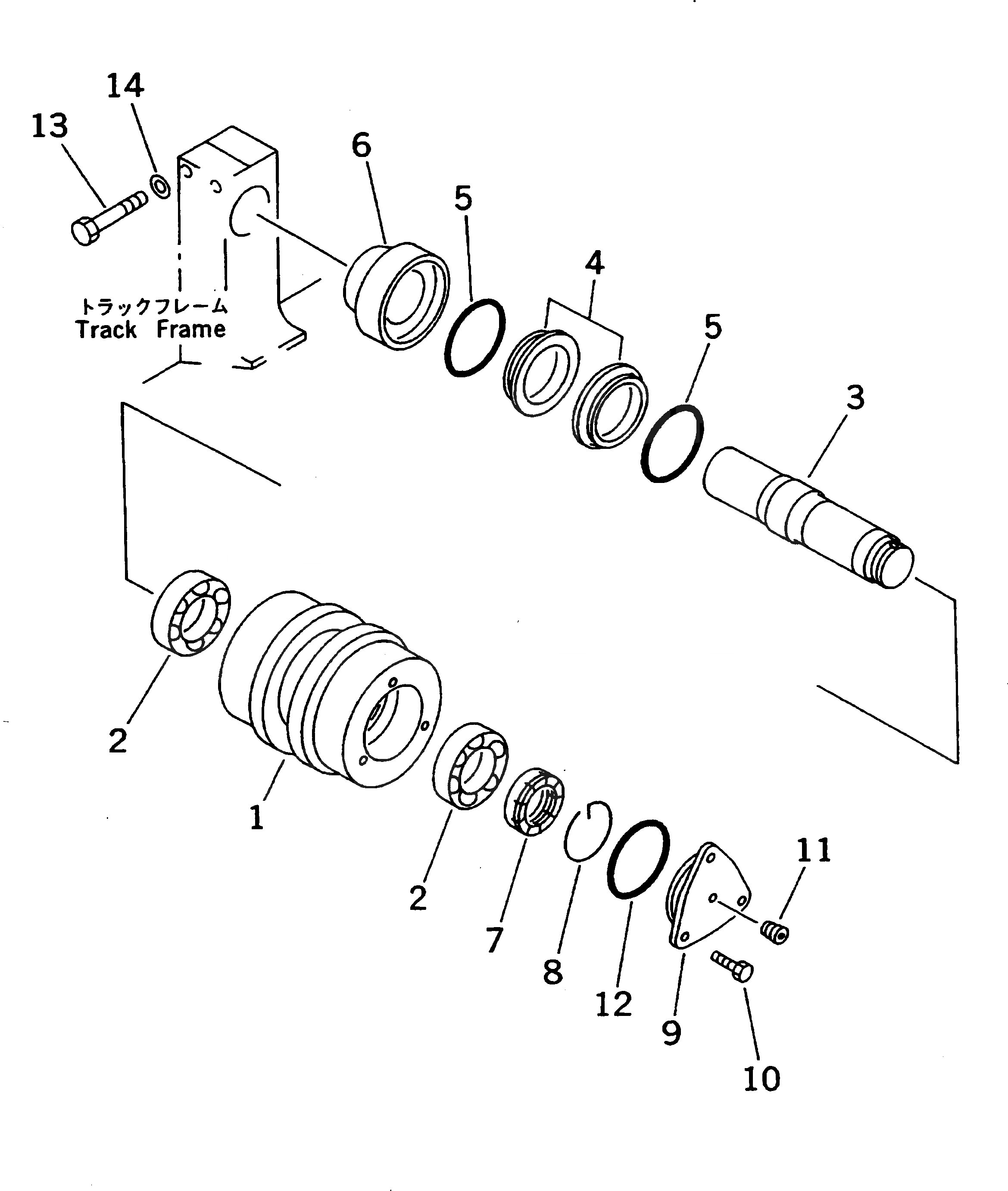
Запчасти Komatsu PC228USLC-1 ПОДДЕРЖИВАЮЩИЙ КАТОК(№-8) ХОДОВАЯ

Схема запчастей Komatsu PC228USLC-1 - ПОДДЕРЖИВАЮЩИЙ КАТОК(№-8) ХОДОВАЯ
FIT
1:1
100%

Артикул

Название

Примечание

Количество

|1

20Y-30-00022

CARRIER ROLLER ASS'Y

1

20Y-30-15221

ROLLER

2

06002-32010

BEARING

3

20Y-30-15131

SHAFT

|4

20Y-30-00070

FLOATING SEAL ASS'Y

4

RING

5

O-RING

6

20Y-30-15121

RING

7

141-30-35140

NUT

8

141-30-35150

RING

9

20Y-30-15140

COVER

10

01010-81025

BOLT

11

20Y-30-16330

PLUG

12

07000-02075

O-RING

13

01010-61675

BOLT

14

01643-31645

WASHER

Выбрано товаров: 0