Запчасти Komatsu PC228USLC-1 ТОПЛИВН. БАК. ТОПЛИВН. БАК. AND КОМПОНЕНТЫ

Схема запчастей Komatsu PC228USLC-1 - ТОПЛИВН. БАК. ТОПЛИВН. БАК. AND КОМПОНЕНТЫ
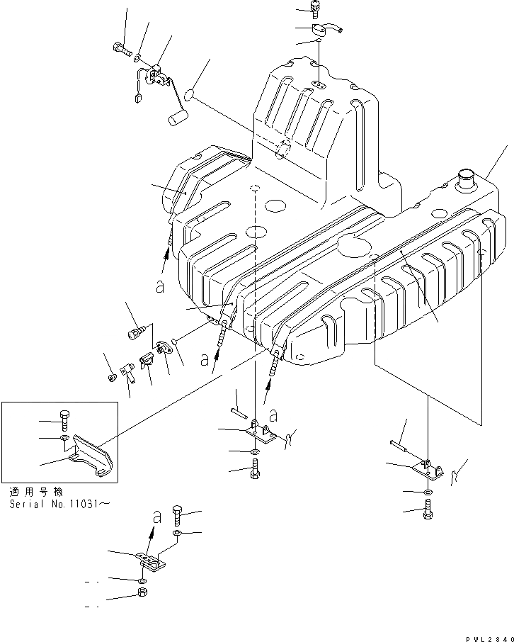
1
2
3
4
5
6
7
8
9
10
11
12
13
14
15
16
17
18
18
18
19
19
19
20
21
22
23
23
24
24
25
26
27
28
29
FIT
1:1
100%

Артикул

Название

Примечание

Количество

1

22U-04-11112

TANK

2

22U-04-11751

FLANGE

3

01023-60635

SCREW

4

07000-12020

O-RING

5

20U-04-21430

FLANGE

6

07700-50345

VALVE

7

01023-60620

SCREW

8

07000-12015

O-RING

9

22U-04-11630

TEE

10

07043-A0108

PLUG

11

7861-92-5820

SENSOR,FUEL

12

01010-80612

BOLT

13

01643-30623

WASHER

14

07000-13048

O-RING

15

22U-04-11541

BRACKET

16

22U-04-11551

BRACKET

17

22U-04-11590

BRACKET

18

01010-81230

BOLT

19

01643-31232

WASHER

20

22U-04-11201

BAND ASS'Y

21

22U-04-11401

BAND ASS'Y

22

22U-04-11500

BAND ASS'Y

23

22U-04-11280

PIN

24

04052-11038

PIN

25

01580-11210

NUT

26

01643-31232

WASHER

27

22U-04-11770

BRACKET

28

01010-81230

BOLT

29

01643-31232

WASHER

Выбрано товаров: 0