Качественные детали и логистика
Оригинальные и аналоговые запчасти с доставкой по России, Казахстану и Беларуси
©2022 PartSell ООО "Система" ИНН 2463123282 ОГРН 1212400004838
Центральный офис: г. Красноярск, Академика Киренского, д.87, пом.4
Телефон: 8 (800) 777-65-74 Email: zakaz@partsell.ru
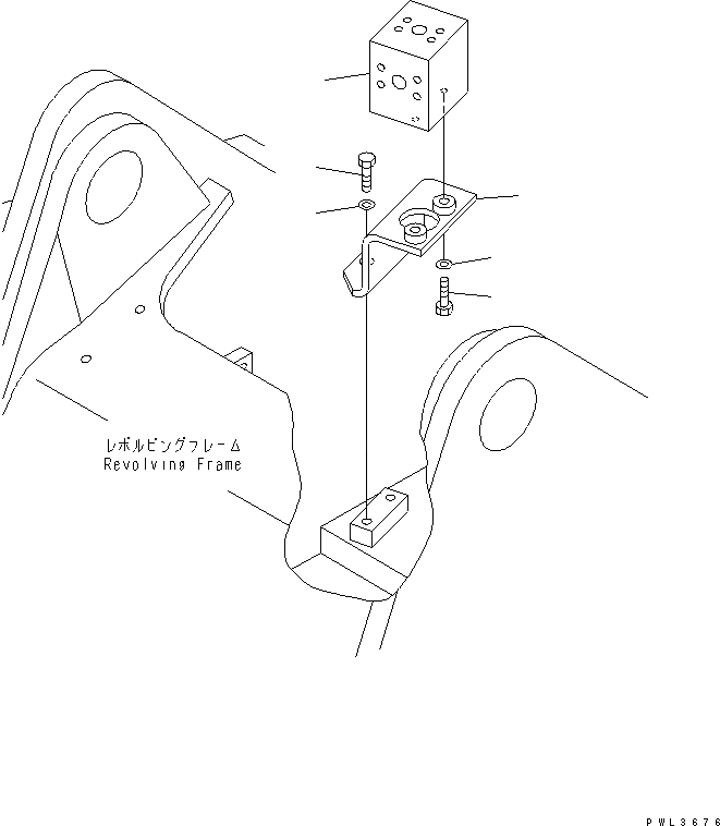
ПРЕДОТВРАЩ. СМЕЩЕНИЯ LESS(№-)
№
Артикул
Название
Примечание
Количество
1
22U-62-14550
BLOCK
2
22U-62-11331
BRACKET
3
01010-81040
BOLT
4
01643-31032
WASHER
5
01010-81230
6
01643-31232
Выбрано товаров: 0