Запчасти Komatsu PC228USLC-2 ОХЛАЖД-Е (ВТОРИЧН. БАК И КРЕПЛЕНИЕ РАДИАТОРА) СИСТЕМА ОХЛАЖДЕНИЯ

Схема запчастей Komatsu PC228USLC-2 - ОХЛАЖД-Е (ВТОРИЧН. БАК И КРЕПЛЕНИЕ РАДИАТОРА) СИСТЕМА ОХЛАЖДЕНИЯ
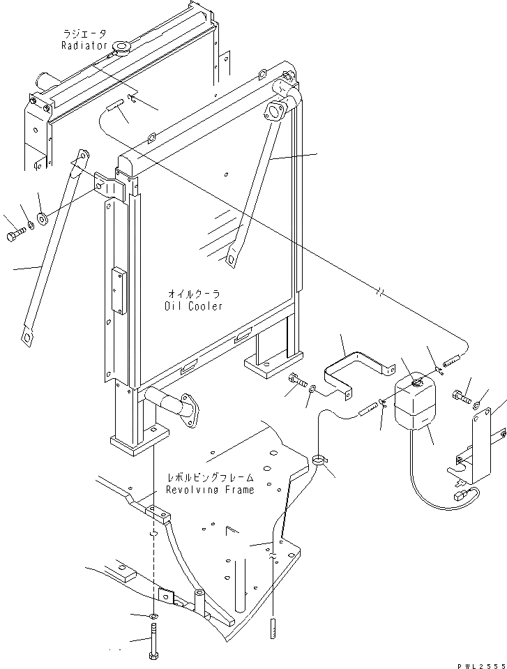
1
2
3
4
5
6
7
8
9
10
11
11
12
13
14
14
15
16
17
18
19
FIT
1:1
100%

Артикул

Название

Примечание

Количество

1

203-03-61640

TANK

2

205-03-71532

CAP

|3

205-03-71540

PACKING

3

208-03-58290

HOSE

4

206-03-43340

CLIP

5

22U-03-11241

BRACKET

6

203-03-56650

BRACKET

7

01010-80820

BOLT

8

01643-30823

WASHER

9

08034-00536

BAND

10

22U-03-11250

HOSE

11

206-03-43340

CLIP

12

01010-81225

BOLT

13

01643-31232

WASHER

14

22U-03-11230

STAY

15

01010-81635

BOLT

16

01643-31645

WASHER

17

21T-54-16150

WASHER

18

01010-81650

BOLT

19

01643-31645

WASHER

Выбрано товаров: 20